EasyManua.ls Logo

Freescale Semiconductor MPC5604B - Module Presentation

Default Icon
150 pages
Print Icon
To Next Page IconTo Next Page
To Next Page IconTo Next Page
To Previous Page IconTo Previous Page
To Previous Page IconTo Previous Page
Loading...
1.2.
Module Presentation
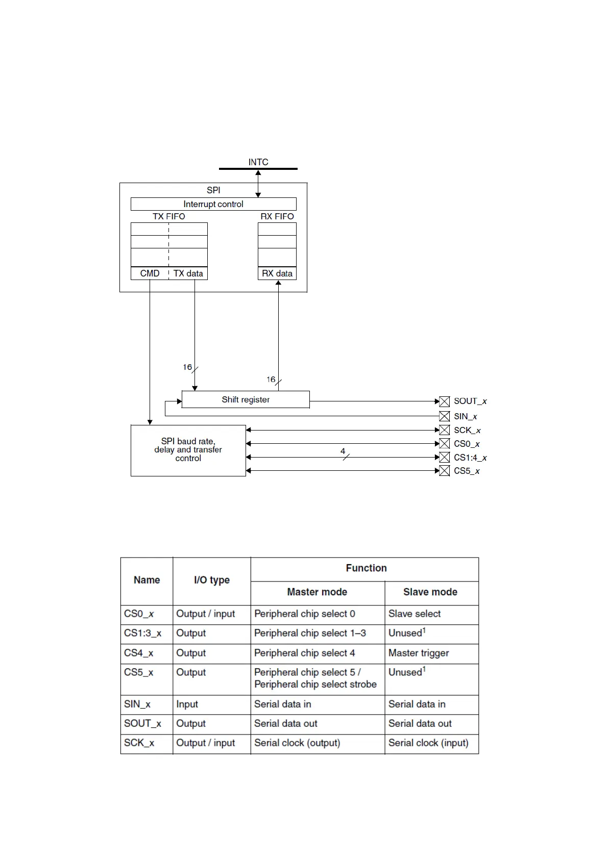
The DSPI Modules provide an implementation of the SPI protocol with some enhancements like
FIFO buffers in the memory for simpler communication, various interrupts and a precise control
on the baud rate and delays.
Figure 87 : The DSPI module block diagram (R.M. Rev8 Fig. 23-1)
Each DSPI module has six chip select (CSx) signals that can handle communication with a
considerable amount of external devices.
Figure 88 : DSPI Signal Properties (R.M. Rev8 Table 23-1)

Table of Contents

Other manuals for Freescale Semiconductor MPC5604B

Related product manuals