EasyManua.ls Logo

Garmin G3X - Page 260

Garmin G3X
1011 pages
Print Icon
To Next Page IconTo Next Page
To Next Page IconTo Next Page
To Previous Page IconTo Previous Page
To Previous Page IconTo Previous Page
Loading...
190-01115-01 G3X™/G3X Touch™ Avionics Installation Manual
Rev. AV Page 20-26
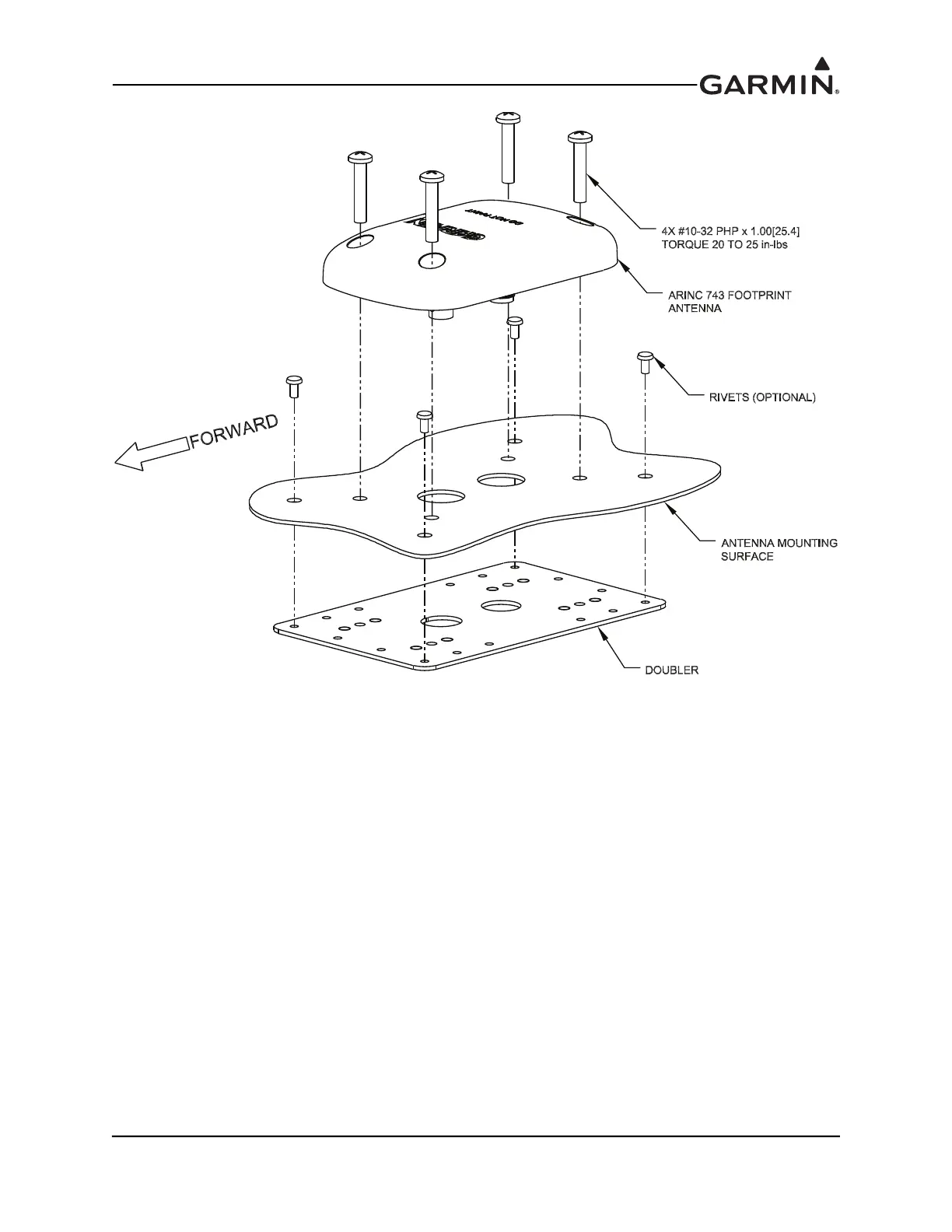
Figure 20-25 Generic Non-structural ARINC 743 Footprint Antenna Installation

Table of Contents

Other manuals for Garmin G3X

Related product manuals