EasyManua.ls Logo

Garmin G3X - Page 428

Garmin G3X
1011 pages
Print Icon
To Next Page IconTo Next Page
To Next Page IconTo Next Page
To Previous Page IconTo Previous Page
To Previous Page IconTo Previous Page
Loading...
190-01115-01 G3X™/G3X Touch™ Avionics Installation Manual
Rev. AV Page 24-28
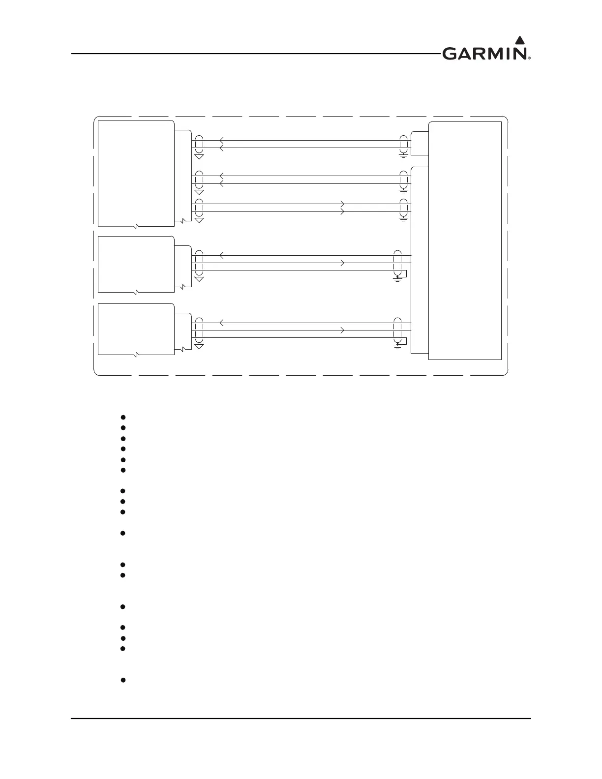
Figure 24-2.8 Single GNS 430(W)/530(W) Interconnect/Configuration Example
49
48
GAD 29
A429 TX 1A (AIR DATA) 24
A429 TX 1B (AIR DATA) 12
P292
GPS/NAV/COM
GNS 4XX(W)/5XX(W)
S
47
ARINC 429 OUT A46
ARINC 429 RX 1A (GPS) 23
ARINC 429 RX 1B (GPS) 11
S
23
24
ARINC 429 RX 2A (NAV) 22
ARINC 429 RX 2B (NAV) 10
S
ARINC 429 OUT B
ARINC 429 IN 1A
ARINC 429 IN 1B
ARINC 429 OUT A
ARINC 429 OUT B
P4001/5001
P4006/5006
56
RS-232 OUT 1
GDU 4XX/37X
P4X02/P3701
RS-232 IN 2 14
SIGNAL GROUND 34
S
CONFIGURATION GUIDANCE
1. GNS 4XX(W)/5XX(W)
A. ON THE MAIN ARINC 429 CONFIG PAGE
SET IN 1 SPEED TO "LOW"
SET IN 1 DATA TO "EFIS/AIR DATA"
SET OUT SPEED TO "LOW"
SET OUT DATA TO "GAMA 429"
SET SDI TO "LNAV 1"
SET VNAV TO "ENABLE LABELS" FOR GNS #1 (WAAS UNITS ONLY)
B. ON THE MAIN RS-232 CONFIG PAGE
SET CHNL 1 INPUT TO "OFF"
SET CHNL 1 OUTPUT TO "MAPMX" (WAAS UNITS ONLY) OR "AVIATION" (NON-WAAS UNITS)
SET CHNL 2 INPUT/OUTPUT TO "CONNEXT" WHEN CONNEXT IS USED
C. ON THE MAIN CDI/OBS CONFIG PAGE (GNS 430(W)/530(W) ONLY)
PRESS MENU AND SELECT THE "IGNORE SEL CRS FOR VLOC?" OPTION
NOTE: MENU WILL SAY "ALLOW SEL COURSE FOR VLOC?" WHEN SET CORRECTLY
D. ON THE VOR/LOC/GS ARINC 429 CONFIG PAGE (GNS 430(W)/530(W) ONLY)
SET RX AND TX SPEED TO "LOW"
SET SDI TO "VOR/ILS 1"
2. G3X
A. ON THE GDU 46X/37X RS-232 AND ARINC 429 CONFIG MODE PAGES
SET THE CONNECTED GDU 46X/37X RS-232 CHANNEL TO "MAPMX" (IF CONNECTED TO A
WAAS UNIT) OR "AVIATION IN" (IF CONNECTED TO A NON-WAAS UNIT)
SET ARINC 429 TX 1 FORMAT TO "EFIS/AIRDATA FORMAT 1" AND "NAV 1"
SET ARINC 429 RX 1 FORMAT TO "GARMIN GPS" AND "NAV 1"
SET ARINC 429 RX 2 FORMAT TO "GARMIN VOR/ILS" AND "NAV 1" (GNS 430(W)/530(W)
ONLY)
B. ON THE GDU 4XX RS-232 CONFIG MODE PAGE WHEN CONNEXT IS USED
SET THE GDU 4XX (PFD) RS-232 CHANNEL TO "GARMIN INSTRUMENT DATA"
SEE NOTE 11
ONLY USED FOR 430(W)/530(W)
GDU 4XX
RS-232 IN 3 29
13
P4X02
58
RS-232 OUT 2
59 RS-232 IN 2
35
S
SIGNAL GROUND
RS-232 OUT 3
CONNEXT INTERFACE (4XXW/5XXW ONLY)
MAPMX INTERFACE
30 57 RS-232 IN 1RS-232 OUT 2
(PFD OR MFD)
(PFD1 ONLY)
NOTE: THIS INTERFACE EXAMPLE DRAWING IS NOT SUFFICIENT FOR INSTALLATION OF A GNS 4XX(W)/5XX(W)
SERIES PRODUCT. PLEASE REFERENCE THE APPROPRIATE INSTALLATION DOCUMENTATION FOR THE
GNS 4XX(W)/5XX(W) SERIES PRODUCTS FOR COMPREHENSIVE INSTALLATION AND CONFIGURATION INFORMATION.

Table of Contents

Other manuals for Garmin G3X

Related product manuals