EasyManua.ls Logo

Garmin G3X - Page 465

Garmin G3X
1011 pages
Print Icon
To Next Page IconTo Next Page
To Next Page IconTo Next Page
To Previous Page IconTo Previous Page
To Previous Page IconTo Previous Page
Loading...
190-01115-01 G3X™/G3X Touch™ Avionics Installation Manual
Rev. AV Page 26-6
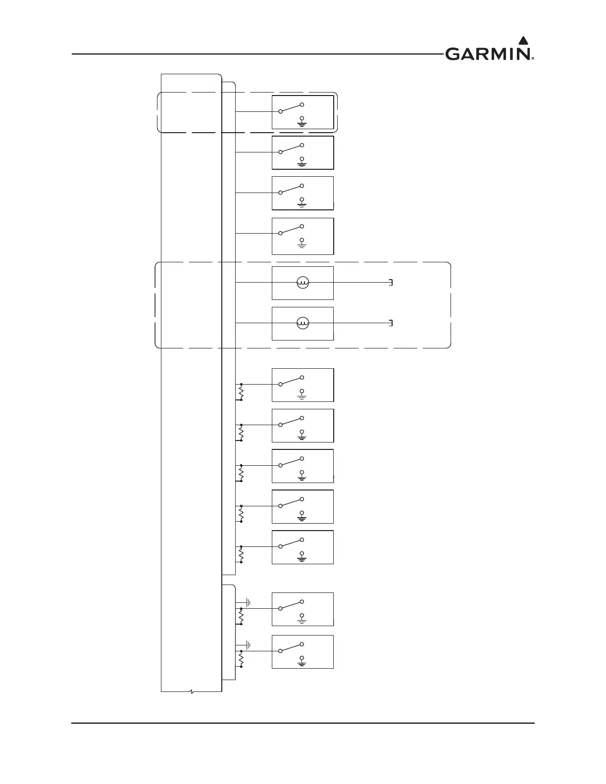
Figure 26-2.2 Page 2 of 2 Electrical and Discrete Input/Output Examples (w/GEA 24)
GEA 24
P244
DISCRETE IN 1 40
ACTIVE
INACTIVE
DOOR/CANOPY OPEN
DISCRETE IN 2 41
ACTIVE
INACTIVE
ALT AIR DOOR
DISCRETE IN 3 42
ACTIVE
INACTIVE
BAGGAGE DOOR
DISCRETE IN 4 43
ACTIVE
INACTIVE
GLIDE ACTIVATE
SEE NOTE 13
DISCRETE OUT 1 44
MASTER WARNING
DISCRETE OUT 2 45
MASTER CAUTION
TO POWER SUPPLY
TO POWER SUPPLY
SEE NOTE 17
/MASTER WARNING
/MASTER CAUTION
GP 1 19
ACTIVE
INACTIVE
GEAR DOWN
GP 2 22
ACTIVE
INACTIVE
STALL SWITCH
GP 3 12
ACTIVE
INACTIVE
SQUAT SWITCH
GP 4 15
ACTIVE
INACTIVE
ESP INHIBIT
5K PULL UP RESISTOR NEEDED FOR ACTIVE LOW USE
GP +12V 50
5K PULL UP RESISTOR NEEDED FOR ACTIVE LOW USE
GP +12V 50
5K PULL UP RESISTOR NEEDED FOR ACTIVE LOW USE
GP +12V 50
5K PULL UP RESISTOR NEEDED FOR ACTIVE LOW USE
GP +12V 50
GP 5 31
ACTIVE
INACTIVE
AFCS TO/GA
GP 6 31
ACTIVE
INACTIVE
USER DEFINED ALERT
GP 7 29
ACTIVE
INACTIVE
USER DEFINED ALERT
5K PULL UP RESISTOR NEEDED FOR ACTIVE LOW USE
GP +12V 50
5K PULL UP RESISTOR NEEDED FOR ACTIVE LOW USE
OIL PRESS XDCR +12V 18
5K PULL UP RESISTOR NEEDED FOR ACTIVE LOW USE
OIL PRESS XDR +12V 18
P243
GP 6 LO 30
GP 7 LO 28
NOTE: GP 6 LO AND GP 7 LO MUST BE GROUNDED AS SHOWN WHEN
GP 6 AND GP 7 ARE USED AS DISCRETE INPUTS
SWITCH GPN 011-05930-00

Table of Contents