EasyManua.ls Logo

Garmin G3X - Page 849

Garmin G3X
1011 pages
Print Icon
To Next Page IconTo Next Page
To Next Page IconTo Next Page
To Previous Page IconTo Previous Page
To Previous Page IconTo Previous Page
Loading...
190-01115-01 G3X™/G3X Touch™ Avionics Installation Manual
Rev. AV Page G-13
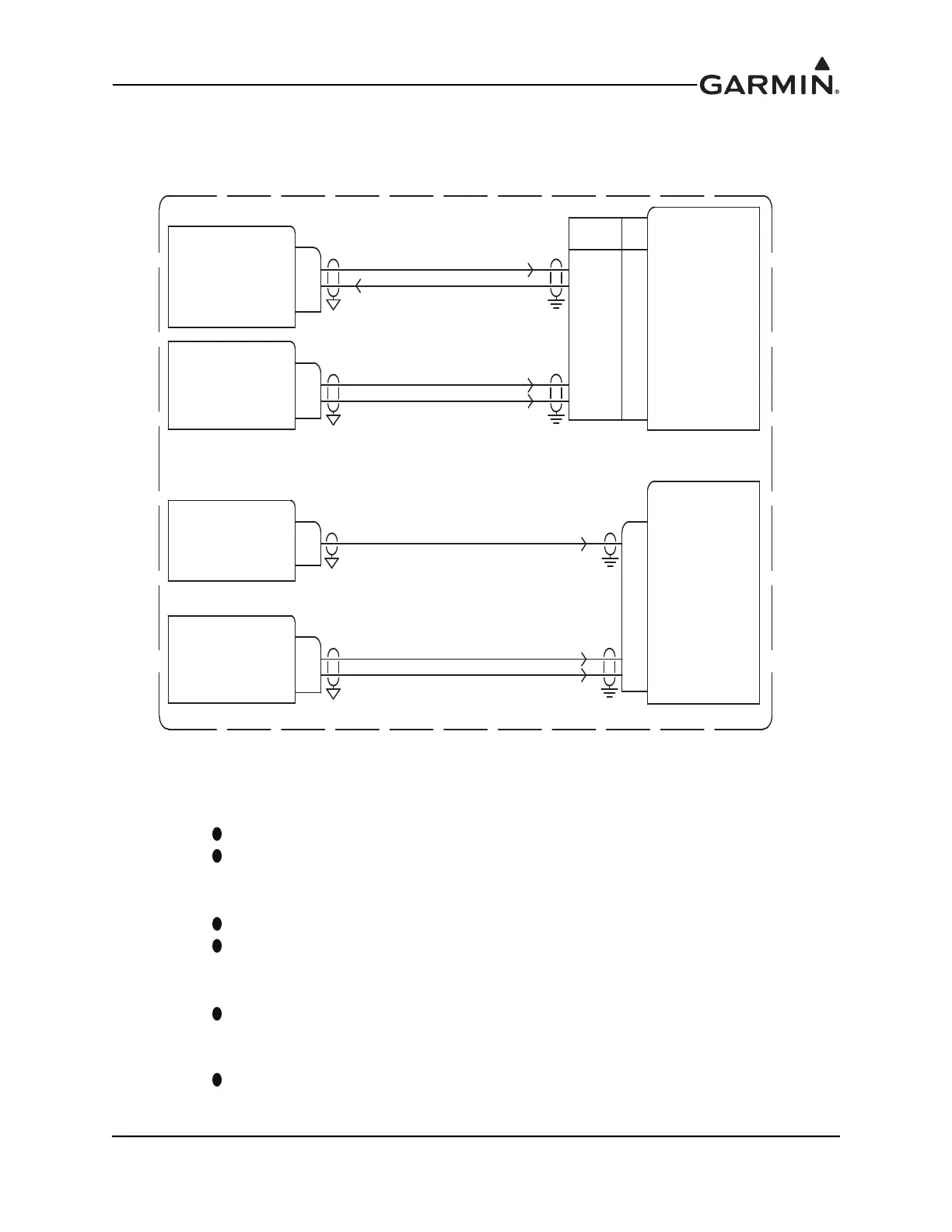
Figure G-2.9 Non-Garmin Auto Pilot Interconnect/Configuration Example w/GSU 73
TRUTRAK
17 PRIMARY SERIAL INPUT
P101
DIGIFLIGHT II SERIES
15
14 ARINC A
ARINC B
BLU
WHT
AUTOPILOT INTERCONNECTS SHOWN FOR REFERENCE ONLY. AUTOPILOT VENDOR
DOCUMENTATION SHOULD BE CONSULTED FOR PROPER PIN CONNECTIONS.
RS-232 OUT 1
GDU 46X/37X
48
S
BLU
WHT
S
GSU 73
P731
ARINC 429 OUT 2A
ARINC 429 OUT 2B 23
22
CONFIGURATION GUIDANCE
1. TRUTRAK GX PILOT / SORCERER
A.ON THE GDU 46X/37X RS-232 CONFIG MODE PAGE
SET CONNECTED GDU 46X/37X RS-232 CHANNEL FORMAT TO "INTEGRATED AUTOPILOT"
SET GSU ARINC 429 TX 2 FORMAT TO "AUTOPILOT"
2. TRUTRAK DIGIFLIGHT II SERIES
A.ON THE GDU 46X/37X RS-232 CONFIG MODE PAGE
SET CONNECTED GDU 46X/37X RS-232 CHANNEL FORMAT TO "NMEA OUT"
SET GSU ARINC 429 TX 2 FORMAT TO "AUTOPILOT"
3. TRUTRAK DIGITRAK / PICTORIAL PILOT / ADI OR TRIO AVIONICS EZ PILOT
A.ON THE GDU 46X/37X RS-232 CONFIG MODE PAGE
SET CONNECTED GDU 46X/37X RS-232 CHANNEL FORMAT TO "NMEA OUT"
4. TRIO GX PRO / PROPILOT
A.ON THE GDU 46X/37X RS-232 CONFIG MODE PAGE
SET CONNECTED GDU 46X/37X RS-232 CHANNEL FORMAT TO "INTEGRATED AUTOPILOT"
TRUTRAK
17 PRIMARY SERIAL INPUT
GX PILOT / SORCERER
3
25
ARINC A
ARINC B
BLU
WHT
RS-232 OUT 1
GDU 46X/37X
48
BLU
WHT
S
GSU 73
P731
ARINC 429 OUT 2A
ARINC 429 OUT 2B 23
22
OR
7 AUXILIARY RS-232 OUTPUT
BLU
WHT
BLU
WHT
S
RS-232 IN 1 47
SEE NOTES 8 AND 11
SORCERER
GX
PILOT
14
27
26
15
P4602/P3701
P4602/P3701

Table of Contents

Other manuals for Garmin G3X

Related product manuals