EasyManua.ls Logo

Alien MEGA204 - Rear Panel; Mega204;Mega208;Mega216

Alien MEGA204
178 pages
Print Icon
To Next Page IconTo Next Page
To Next Page IconTo Next Page
To Previous Page IconTo Previous Page
To Previous Page IconTo Previous Page
Loading...
ALIEN MEGA/MAX USER MANUAL
26
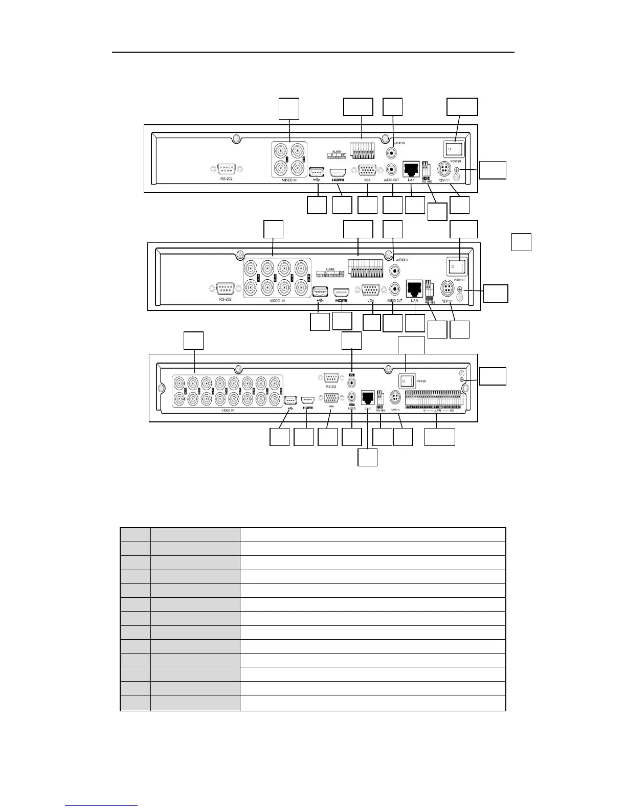
1.5 Rear Panel
Figure 1.5.1 MEGA204 / MEGA208 / MEGA216
No.
Item
Description
1
VIDEO IN
BNC interface for TVI and analog video input.
2
AUDIO IN
RCA connector
3
AUDIO OUT
RCA connector
4
VGA
DB15 connector for VGA output. Display local video output and menu.
5
HDMI
HDMI video output connector.
6
USB Port
Universal Serial Bus (USB) port for additional devices.
7
Network Interface
Connector for network
8
RS-485 Interface
Connector for RS-485 devices.
9
Power Supply
DC 12V power supply.
10
Power Switch
Switch for turning on/off the device.
11
GND
Ground
12
Alarm In/Out
Connectors for alarm inputs and alarm outputs.
1
1
2
3
2
3
2
3
1
4
4
4
5
5
6
5
6
6
7
7
7
8
8
8
9
9
9
11
10
10
10
11
12
12
12
11

Table of Contents