EasyManua.ls Logo

Centroid M400 - Page 198

Centroid M400
302 pages
Print Icon
To Next Page IconTo Next Page
To Next Page IconTo Next Page
To Previous Page IconTo Previous Page
To Previous Page IconTo Previous Page
Loading...
M-Series Operator’s Manual 4/9/15
12
-
16
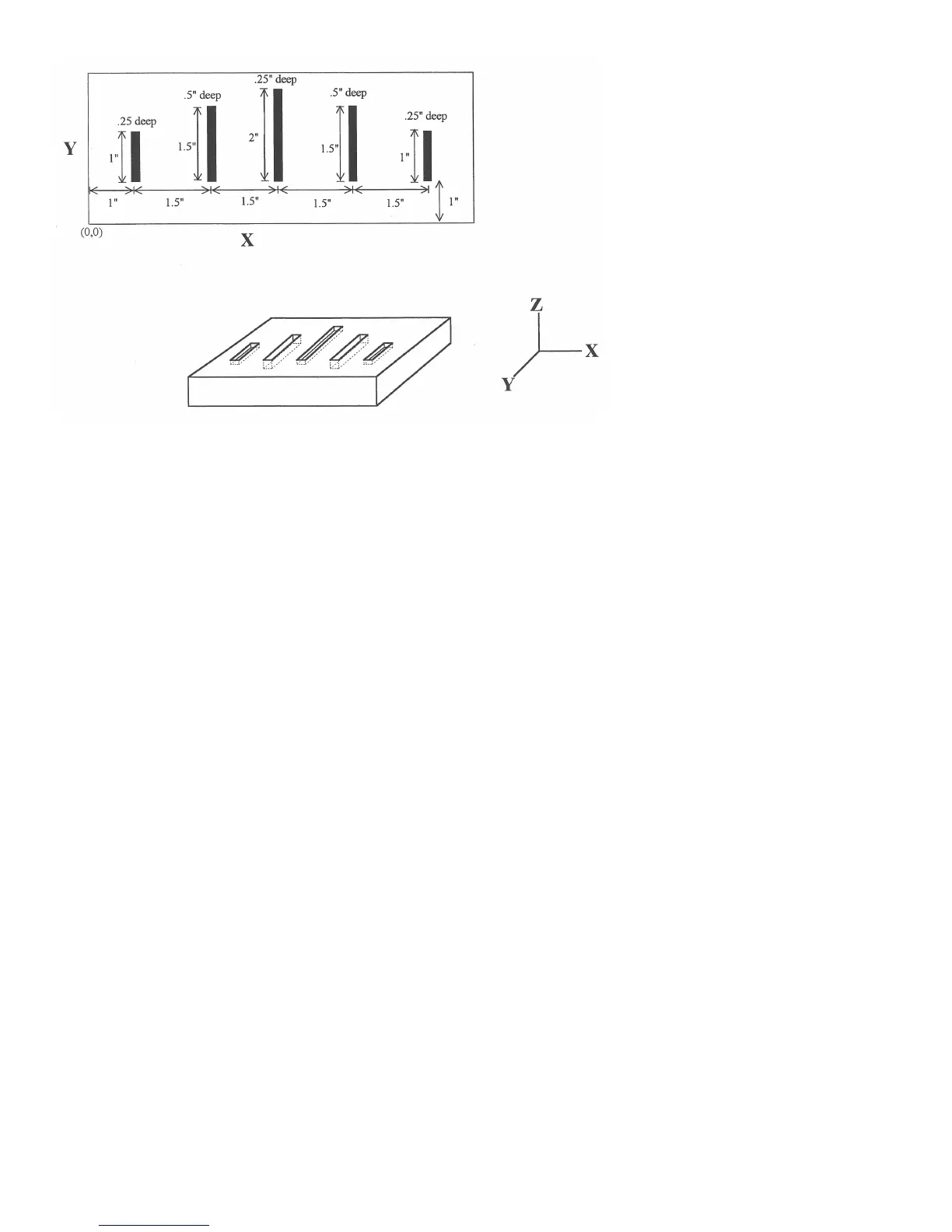
The macro variables would handle the length in the Y direction and depth in the Z direction:
O0002
G90 G1 Z0 F30 ; Linear move to Z0
Z#Z F5 ; Cut to variable depth
G91Y#Y F10 ; Cut variable length
G90 G0 Z0.1 ; Retract
The main program would call this macro five times, each time specifying the depth and length required.
: Main Program
G90 G0 X1 Y1 Z0.1 ; Move to first notch
G65 P0002 L1 Y1 Z.25 ; Call macro and assign Y=1" and Z=.25"
G90 G0 X2.5 Y1 ; Move to second notch
G65 P0002 L1 Y1.5 Z.5 ; Call macro and assign Y=1.5" and Z=.5"
G90 G0 X4 Y1 ; Move to third notch
G65 P0002 L1 Y2 Z.25 ; Call macro again
G90 G0 X5.5 Y1 ; Move to fourth notch
G65 P0002 L1 Y1.5 Z.5 ; Call macro again
G90 G0 X7 Y1 ; Move to fifth notch
G65 P0002 L1 Y1 Z.25 ; Call macro again
: End program
G68, G69 - Coordinate Rotation on/off
G68 rotates program G-codes a specified angle R. G68 rotates all positions, lines, and arcs until a G69 is entered.
The center of rotation can be specified by X, Y and Z values (X, Y for G17 plane). If the center is not specified
then a default center of rotation is used as determined by machine parameter #2 (see Chapter 14 for parameter #2).
The default plane of rotation is G17 (X, Y).

Table of Contents

Related product manuals