EasyManua.ls Logo

Centroid M400 - Conventions

Centroid M400
302 pages
Print Icon
To Next Page IconTo Next Page
To Next Page IconTo Next Page
To Previous Page IconTo Previous Page
To Previous Page IconTo Previous Page
Loading...
M-Series Operator’s Manual 4/9/15 1-3
Conventions
*Bold capitalized characters represent keystrokes. For example, the A key is written as A, and the enter key is
written as ENTER. The "Escape" key is written as ESC. Key combinations such as ALT- D mean that you should
press and hold ALT then press D.
*All data entry screens in the M-Series Control use F10 to save changes.
*Any menu in the M-Series Control can be exited by pressing ESC. This will take you back to the previous menu.
This also usually discards any changes you have made in that menu.
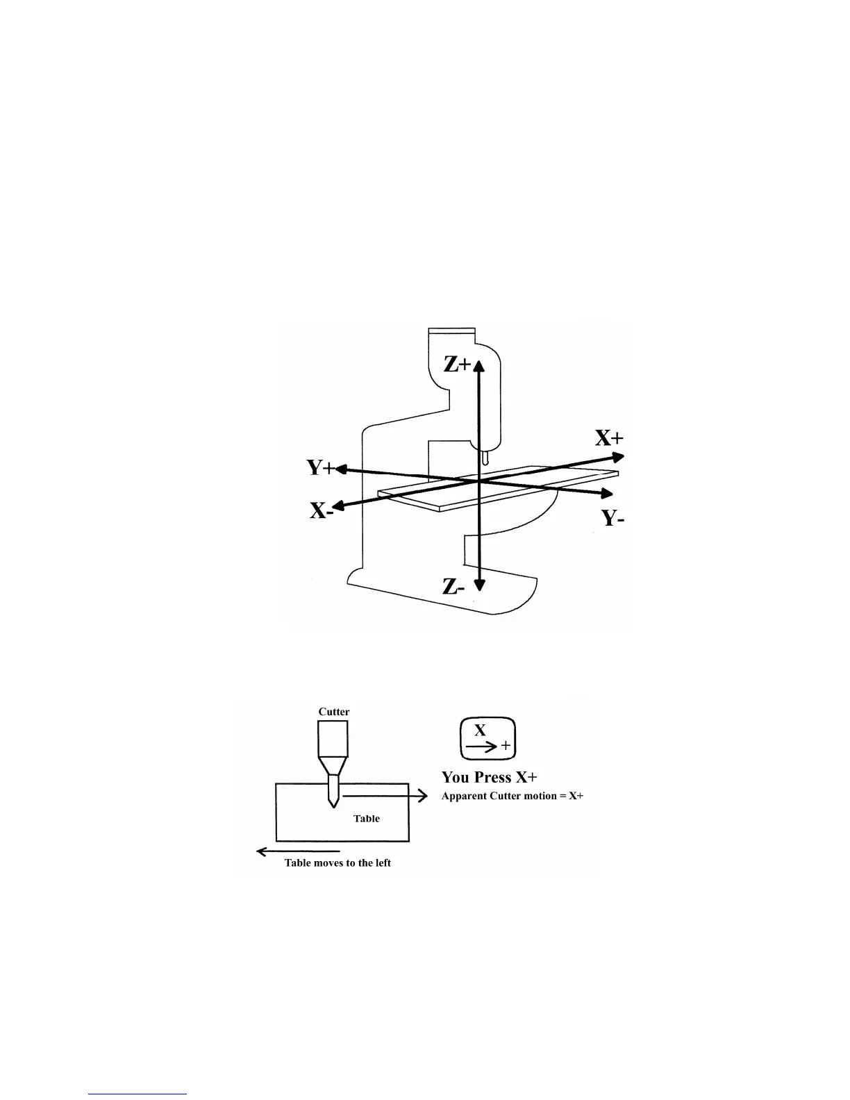
*All program examples and software use the standard Cartesian coordinate system (see the figure below). If you
are facing the mill, the X-axis is defined positive to your right; the Y-axis is defined positive to the mill; and the Z-
axis is defined positive upward, perpendicular to the XY plane.
*The direction of motion is defined by the CUTTER motion, not the TABLE motion.
*CW stands for clockwise, and CCW stands for counterclockwise.

Table of Contents

Related product manuals