EasyManua.ls Logo

Digi XBee 3 ZigBee - Demonstration of Pin Sleep; Cyclic Sleep

Digi XBee 3 ZigBee
347 pages
Print Icon
To Next Page IconTo Next Page
To Next Page IconTo Next Page
To Previous Page IconTo Previous Page
To Previous Page IconTo Previous Page
Loading...
Manage End Devices End Device configuration
Digi XBe 3 Zigbe RF Module
155
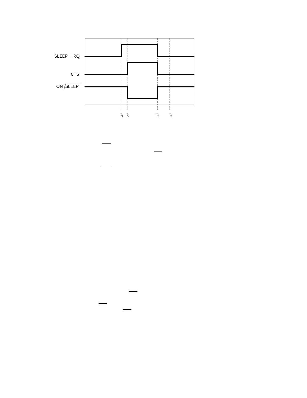
In the previous figure, t1, t2, t3 and t4 represent the following events:
n t1 - Time when DTR/SLEEP_RQ is asserted (high)
n t2 - Time when the device enters sleep (CTS state change only if hardware flow control is
enabled)
n t3 - Time when DTR/SLEEP_RQ is de-asserted (low) and the device wakes
n t4 - Time when the device sends a poll request to its parent
The time between t1 and t2 varies depending on the state of the module. In the worst case scenario,
if the end device is trying to join a network, or if it is waiting for an acknowledgment from a data
transmission, the delay could be up to a few seconds. The time between t3 and t4 is 1-2 ms for a
regular device and about 6 ms for a PRO device.
When the XBee 3 Zigbee RF Module is awake and is joined to a network, it sends a poll request to its
parent to see if the parent has any buffered data. The end device continues to send poll requests
every 100 ms while it is awake.
Demonstration of pin sleep
Parent and remote devices must be configured to buffer data correctly and to use adequate
transmission timeouts. For more information, see Router/Coordinator configuration.
Cyclic sleep
Cyclic sleep allows the device to sleep for a specified time and wake for a short time to poll its parent
for any buffered data messages before returning to sleep again. Enable cyclic sleep mode by setting
the SM command to 4 or 5. SM5 is a slight variation of SM4 that allows the device to wake up
prematurely by asserting (low) the DTR/SLEEP_RQ pin. In SM5, the XBee 3 Zigbee RF Module can wake
after the sleep period expires, or if a high-to- low transition occurs on the SLEEP_RQ pin. When the
device wakes due to DTR/SLEEP_RQ being asserted (low), the minimum time that it will wake for is ST
(Cyclic Sleep Wake Time) even if DTR/SLEEP_RQ is again de-asserted sooner. Setting SM to 4 disables
the pin wake option.
In cyclic sleep, the device sleeps for a specified time, and then wakes and sends a poll request to its
parent to discover if the parent has any pending data for the end device. If the parent has buffered
data for the end device, or if it receives serial data, the device remains awake for a time. Otherwise, it
enters sleep mode immediately.

Table of Contents

Related product manuals