EasyManua.ls Logo

Fuji Electric FRENIC-MEGA - Specifying the Initial Value for the Up;Down Control; Using Digital Input Signals Up;Down (F01 = 7)

Fuji Electric FRENIC-MEGA
287 pages
To Next Page IconTo Next Page
To Next Page IconTo Next Page
To Previous Page IconTo Previous Page
To Previous Page IconTo Previous Page
Loading...
5-32
F codes
E codes
C codes
P codes
H codes
A codes
b codes
r codes
J codes
d codes
U codes
y codes
Chap. 5 FUNCTION CODES
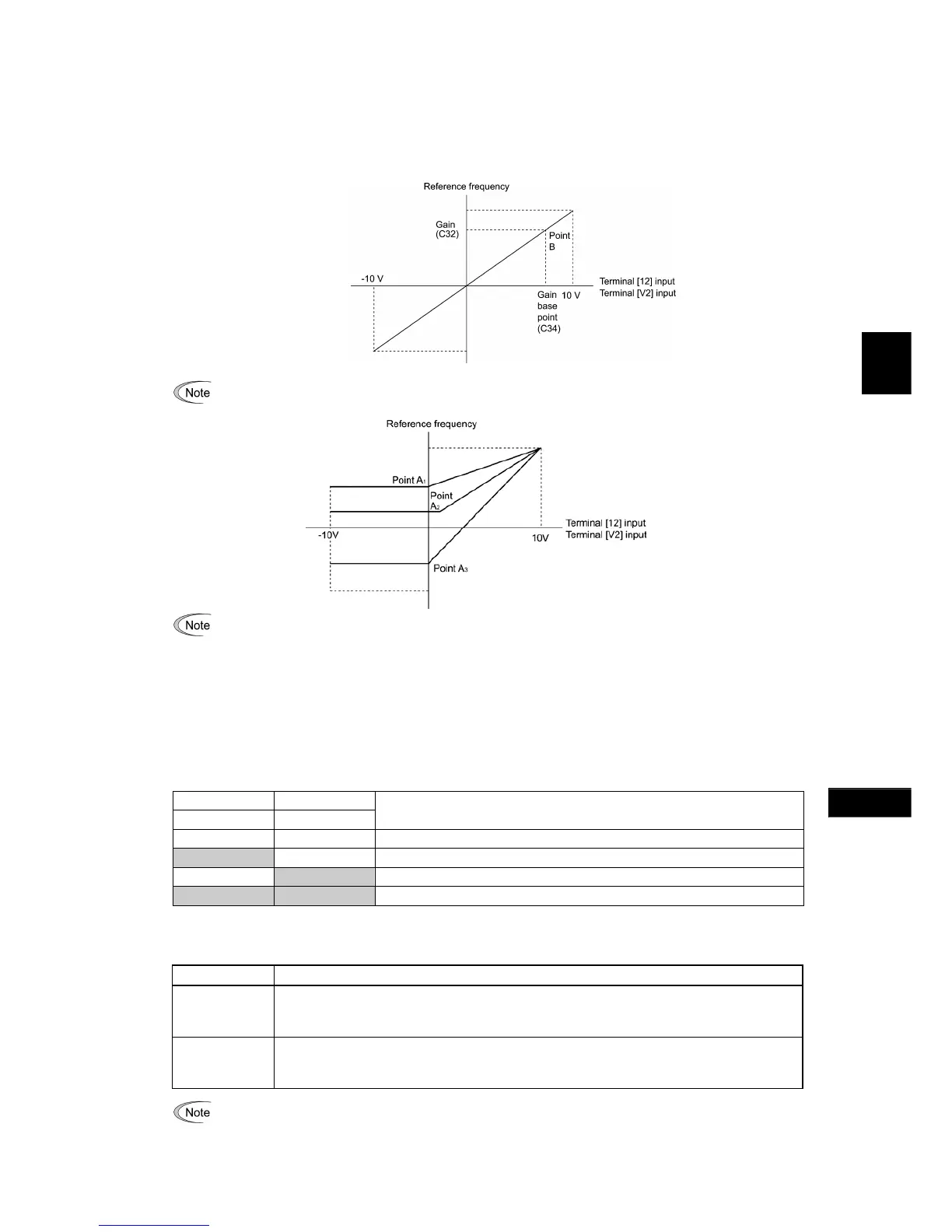
In the case of bipolar input (terminal [12] with C35 = 0, terminal [V2] with C45 = 0)
Setting C35 and C45 data to "0" enables terminal [12] and [V2] to be used for bipolar input (-10 V to +10 V)
respectively.
When both F18 (Bias) and C50 (Bias base point) are set to "0," the negative and positive voltage inputs produce
reference frequencies symmetric about the origin point as shown below.
Configuring F18 (Bias) and C50 (Bias base point) to specify an arbitrary value (Points A1, A2, and A3) gives
the bias as shown below.
A reference frequency can be specified not only with the frequency (Hz) but also with other menu items,
depending on the setting of function code E48 (= 3 to 5, or 7).
[ 3 ] Using digital input signals UP/DOWN (F01 = 7)
When the UP/DOWN control is selected for frequency setting with a run command ON, turning the terminal command
UP or DOWN ON causes the output frequency to increase or decrease, respectively, within the range from 0 Hz to the
maximum frequency as listed below.
To enable the UP/DOWN control for frequency setting, it is necessary to set F01 data to "7" and assign the UP and
DOWN commands to any of digital input terminals [X1] to [X7], [FWD] and [REV] with any of E01 to E07 (data = 17
or 18).
UP DOWN
Data = 17 Data = 18
Function
OFF OFF Keep the current output frequency.
ON OFF Increase the output frequency with the acceleration time currently specified.
OFF ON Decrease the output frequency with the deceleration time currently specified.
ON ON Keep the current output frequency.
Specifying the initial value for the UP/DOWN control
Specify the initial value to start the UP/DOWN control.
Data for H61 Initial value to start the UP/DOWN control
0
Mode fixing the value at "0":
The inverter automatically clears the value to "0" when restarted (including powered ON).
Speed up by the UP command.
1
Mode holding the final output frequency in the previous UP/DOWN control:
The inverter internally holds the last output frequency set by the UP/DOWN control and
applies the held frequency at the next restart (including powering ON).
At the time of restart, if an UP or DOWN terminal command is entered before the internal frequency reaches
the output frequency saved in the memory, the inverter saves the current output frequency into the memory
and starts the UP/DOWN control with the new frequency.
Pressing one of these keys overwrites the frequency held in the inverter.
CTi Automation - Phone: 800.894.0412 - Fax: 208.368.0415 - Web: www.ctiautomation.net - Email: info@ctiautomation.net

Table of Contents

Related product manuals