EasyManua.ls Logo

GE Voluson E6 - Page 219

GE Voluson E6
432 pages
Print Icon
To Next Page IconTo Next Page
To Next Page IconTo Next Page
To Previous Page IconTo Previous Page
To Previous Page IconTo Previous Page
Loading...
GE HEALTHCAREDRAFT VOLUSON E8 / VOLUSON E6
D
IRECTION KTD102576, REVISION 7 DRAFT (AUGUST 23, 2012) SERVICE MANUAL
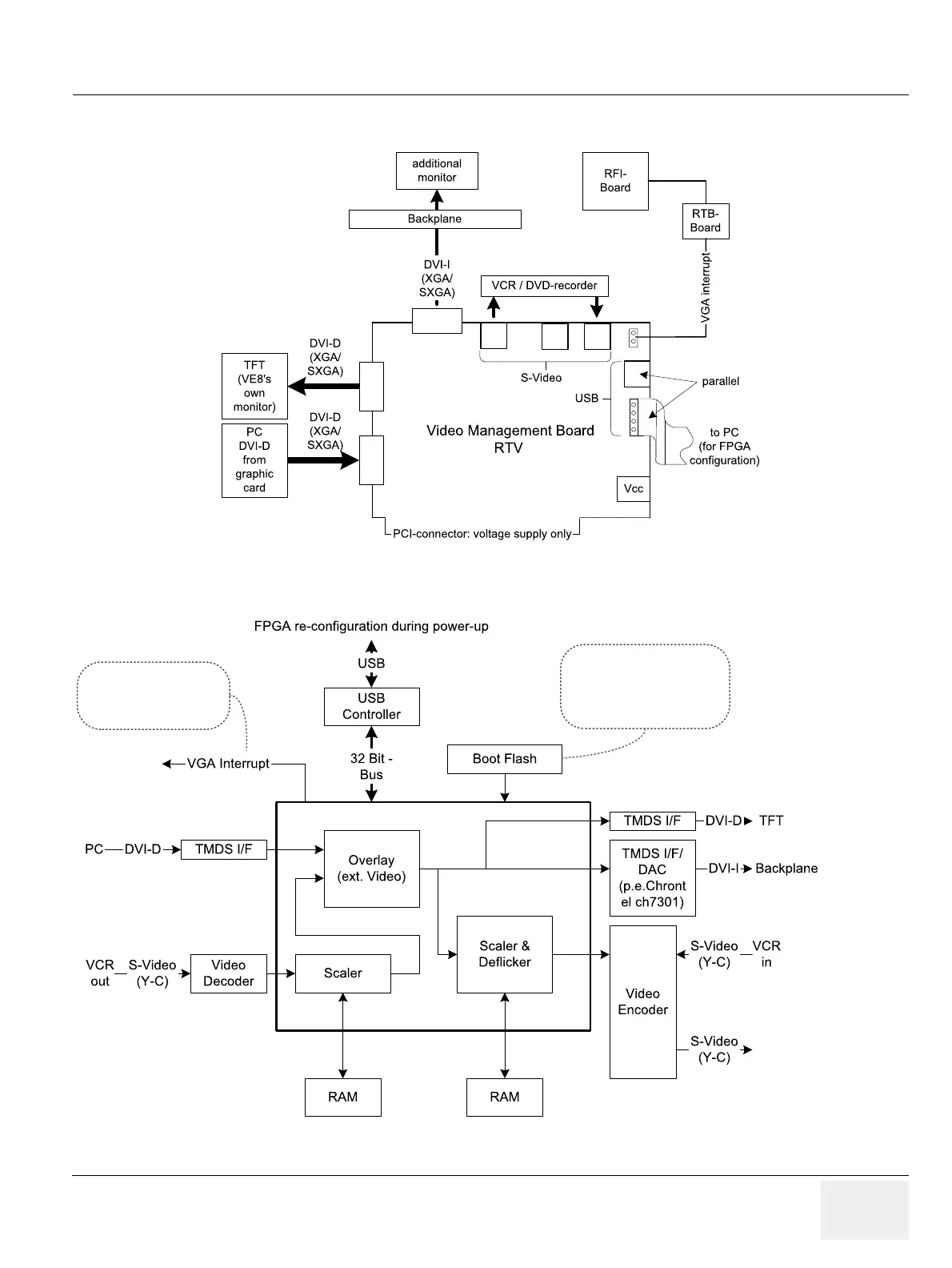
Chapter 5 - Components and Functions (Theory) 5-35
5-4-5 RTV - Video Management Board (cont’d)
Figure 5-11 RTV - Block diagram
Figure 5-12 RTV Video I/O
Flash contains minimum
configuration for DVI
Output (Monitor display)
at Boot-up procedure
VGA Interrupt is used
for synchronization at
M-Mode
(RGB only)
(Monitor intern)

Table of Contents

Other manuals for GE Voluson E6

Related product manuals