EasyManua.ls Logo

Hill-Rom Affinity P3700E - Accessory Installation and Adjustment Procedures

Hill-Rom Affinity P3700E
202 pages
Print Icon
To Next Page IconTo Next Page
To Next Page IconTo Next Page
To Previous Page IconTo Previous Page
To Previous Page IconTo Previous Page
Loading...
4.34 Permanant IV Pole—P3732A
Chapter 4: Procedures
Affinity® Four Birthing Bed Service Manual (195826 REV 2) 4 - 57
4
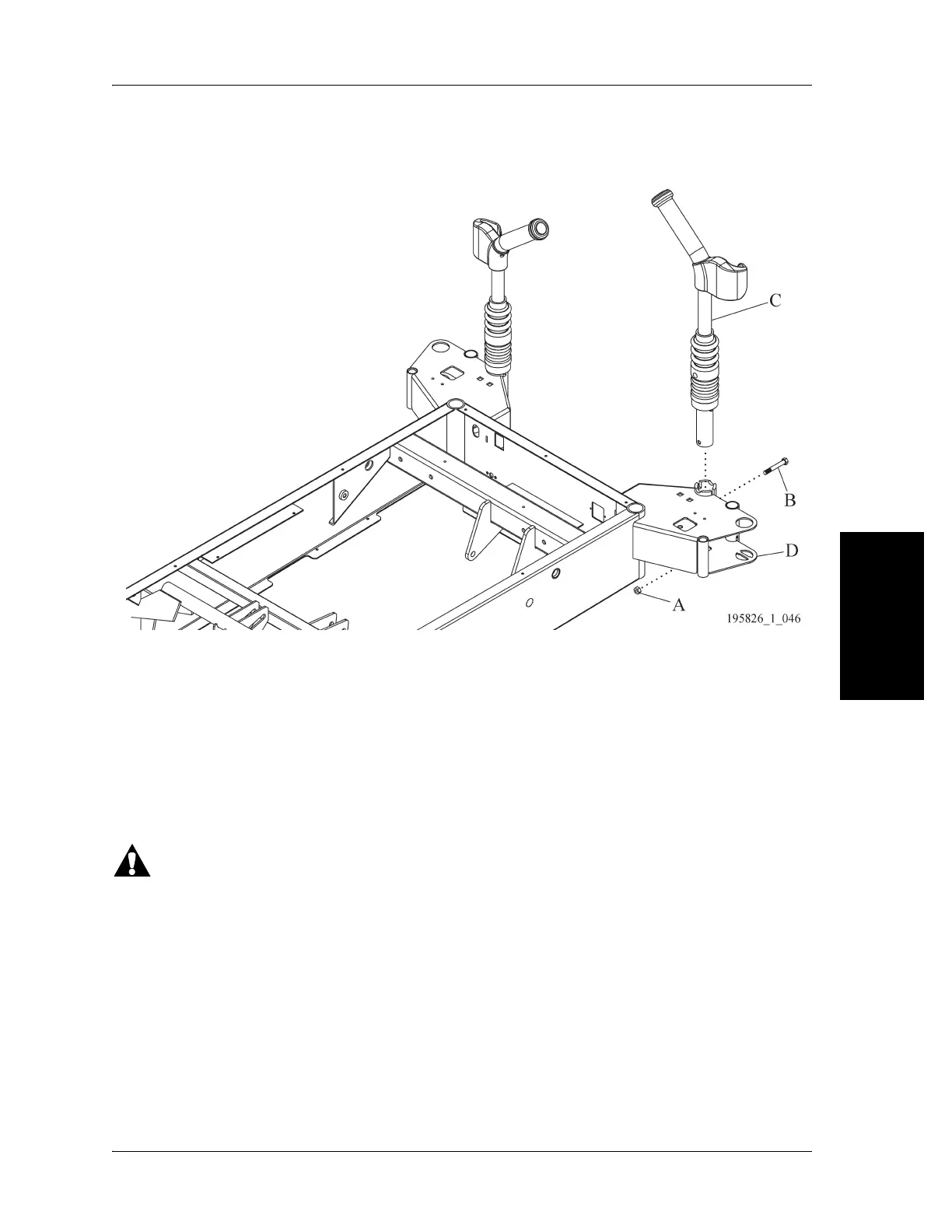
Figure 4-37. Push Handle
REPLACEMENT
Do the removal procedure in reverse order.
4.34 Permanant IV Pole—P3732A
Tools: T25 Torscrewdriver
REMOVAL
1. Set the brakes.
WARNING:
Failure to unplug the bed could cause injury or equipment damage.
2. Unplug the bed.
3. Put the siderail lockout switch at the head end of the bed in the locked position.
4. Remove the two screws (A) from the IV pole (B) (see Figure 4-38 on page 4-58).
5. Remove the IV pole (B) from the bed (C).

Table of Contents

Related product manuals