EasyManua.ls Logo

Hill-Rom Affinity P3700E - Battery Fuse; Removal; Replacement

Hill-Rom Affinity P3700E
202 pages
Print Icon
To Next Page IconTo Next Page
To Next Page IconTo Next Page
To Previous Page IconTo Previous Page
To Previous Page IconTo Previous Page
Loading...
4.20 Battery Assembly
Chapter 4: Procedures
Affinity® Four Birthing Bed Service Manual (195826 REV 2) 4 - 35
4
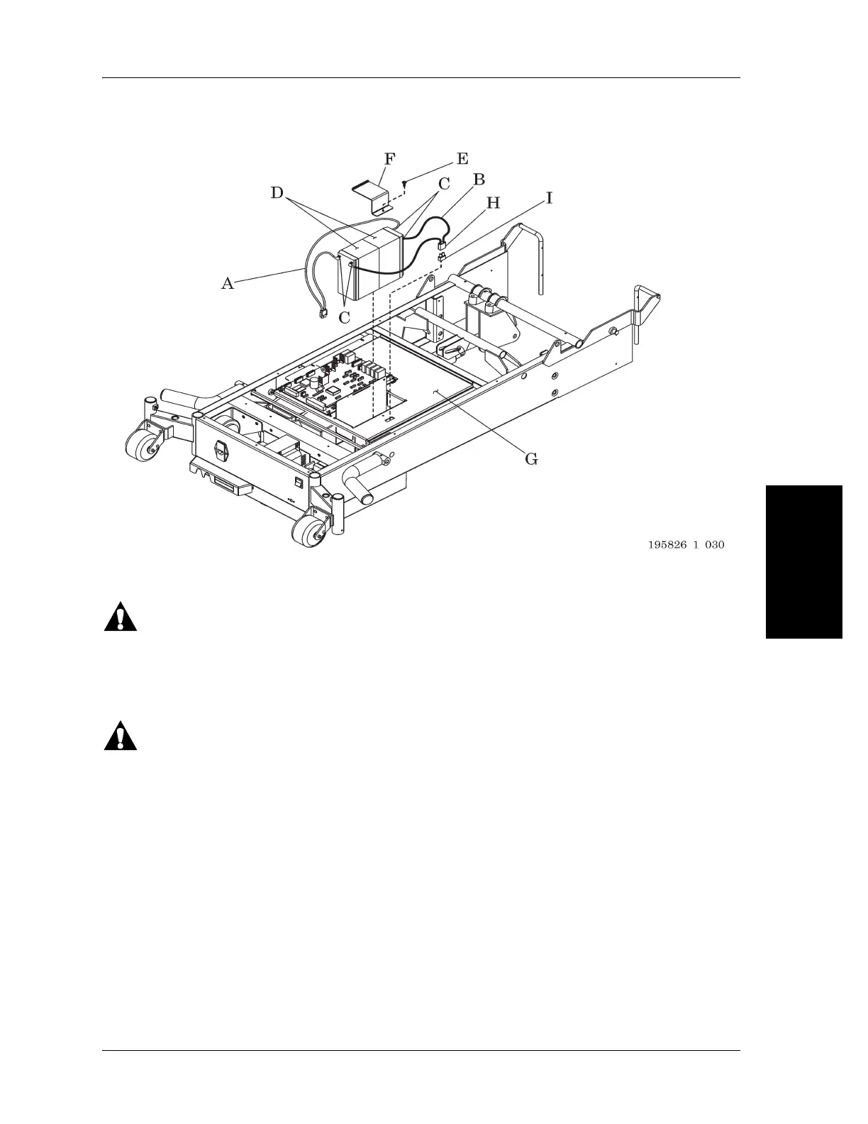
Figure 4-23. Battery Assembly
BAT TE RY FUSE
WARNING:
Follow all electrical safety precautions when servicing the bed's electrical system. Failure to do so could
cause personal injury or equipment damage.
Removal
WARNING:
Failure to unplug the bed could cause injury or equipment damage.
1. Unplug the bed from its power source.
2. Put the siderail lockout switch at the head end of the bed in the locked position.
3. Remove the top motor cover (see Procedure 4.1 on page 4-3).
4. Carefully pull the battery fuse housing (H) from the electronics plate weldment (G).
5. Remove the battery fuse (I) from the battery fuse housing (H).
Replacement
1. Do the removal procedure in reverse order.
2. Do the “Function Checks” on page 2-5.

Table of Contents

Related product manuals