EasyManua.ls Logo

Hioki 3196 - Event Waveform Recording Method

Hioki 3196
240 pages
Print Icon
To Next Page IconTo Next Page
To Next Page IconTo Next Page
To Previous Page IconTo Previous Page
To Previous Page IconTo Previous Page
Loading...
Appendix
216
Event Waveform Recording Method
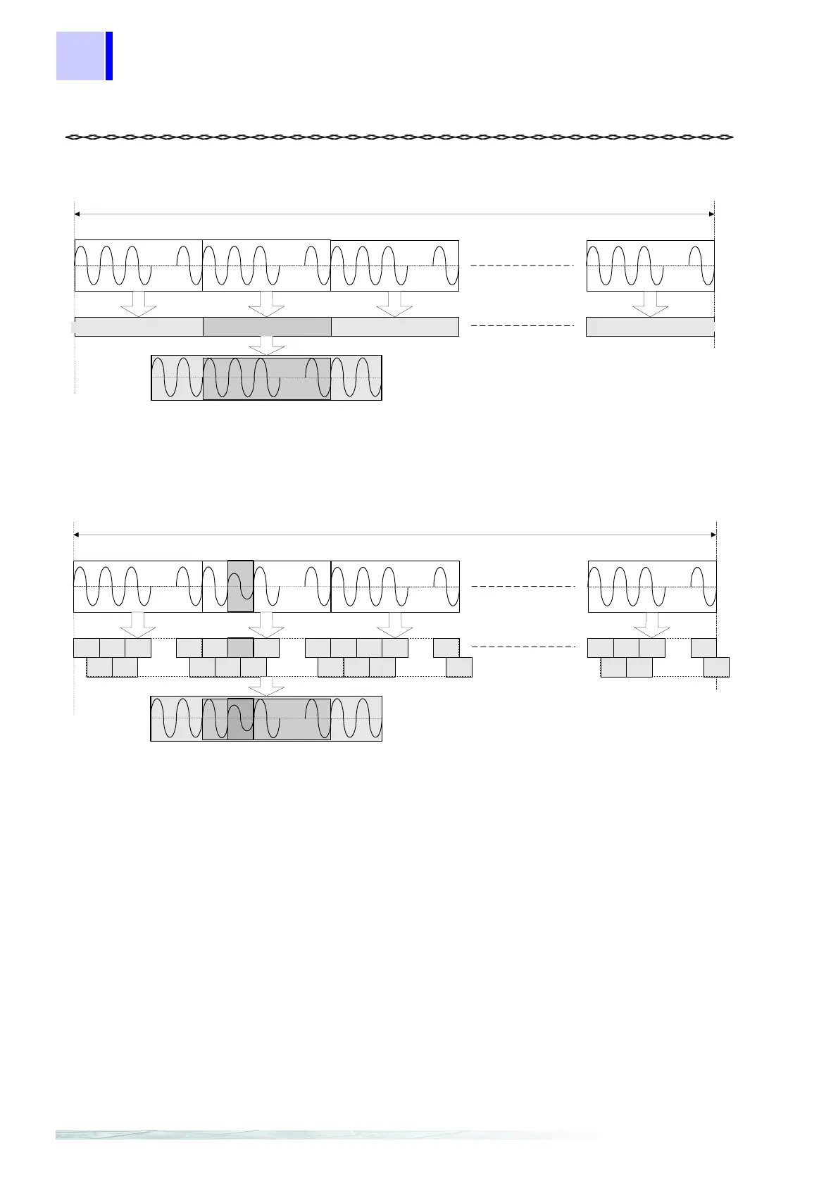
TIME PLOT screen ---- RMS, HARMONICS (Event setting -power and harmonics)
TIME PLOT screen ---- VOLTAGE (Event setting-voltage)
SYSTEM_DF2[MAIN]_[RECORDING] Interval setting period
200 ms (50 Hz: 10 waveforms, 60 Hz: 12 waveforms)
Event waveform
recording period
50 Hz: 14 waveforms
60 Hz: 16 waveforms
Displayed as event waveforms
are 200 ms to which are added
the two preceding waveforms
and the following two wave-
forms.
RMS calculation EVENT occur RMS calculation RMS calculation
U 1
U 2
U 3
U 4
U 5 U 23
U 24
U 25
U 26 U 28
U 29 U 47
U 48
U 49
U 50
U 51
U 52
U 53 U 71
U 72
U N-1
U N
U
N-23
U
N-22
U
N-21
U
N-20
U
N-19
EVE
NT
SYSTEM_DF2[MAIN]_[RECORDING] Interval setting period
200 ms (50 Hz: 10 waveforms, 60 Hz: 12 waveforms)
Event waveform
recording period
50 Hz: 14 waveforms
60 Hz: 16 waveforms
Displayed as event waveforms
are 200 ms to which are added
the two preceding waveforms
and the following two waveforms
.

Table of Contents

Other manuals for Hioki 3196

Related product manuals