EasyManua.ls Logo

IBM SAN Volume Controller 2145-CG8 - Installing the Support Rails for the 2145 UPS-1 U; Removing the Rear Rail on the 2145 UPS-1 U; Installing the Support Rails for a 2145 UPS-1 U

IBM SAN Volume Controller 2145-CG8
372 pages
Print Icon
To Next Page IconTo Next Page
To Next Page IconTo Next Page
To Previous Page IconTo Previous Page
To Previous Page IconTo Previous Page
Loading...
6. Remove the rail from the rack.
7. Repeat steps 3 on page 314 through 6 to remove the other rail from the rack.
Installing the support rails for the 2145 UPS-1U
You must install the support rails in the rack before installing the 2145 UPS-1U.
Complete the following prerequisites before installing the support rails:
1. Use the customer's hardware-location chart to determine where in the rack that the 2145 UPS-1U is to
be installed.
2. At the back of the rack, observe the Electronic Industries Alliance (EIA) positions and determine
where you are going to install the 2145 UPS-1U. Because of its weight, position the 2145 UPS-1U
where it is easy to handle in one of the lower positions in the rack.
Perform the following steps to install the support rails for the 2145 UPS-1U:
1. Open the top of the 2145 UPS-1U shipping carton. Grip the flaps on either side of the 2145 UPS-1U.
2. Lift the 2145 UPS-1U clear of the shipping carton and place it on a flat, stable surface with the front
facing you.
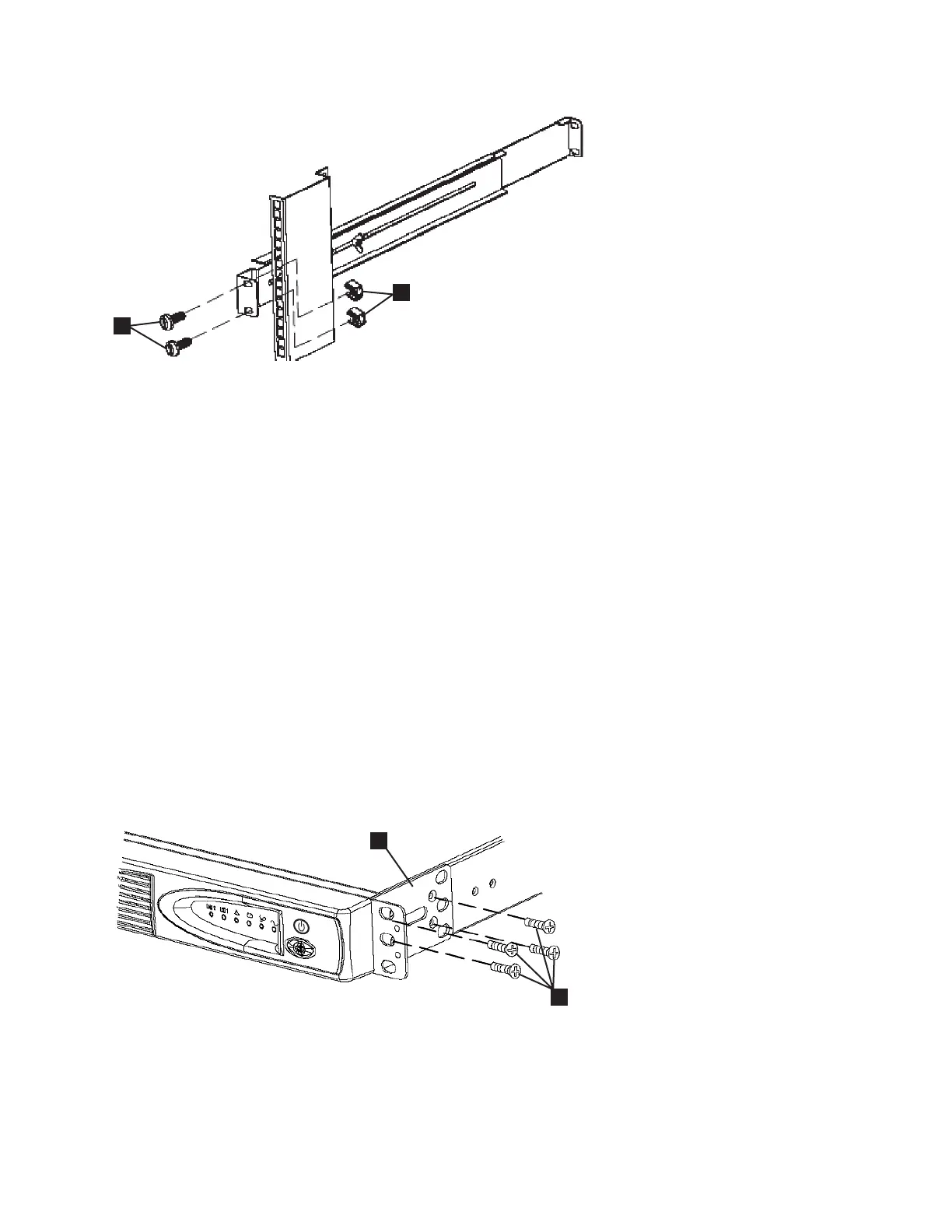
3. Attach the long side of a mounting bracket 1 to each side of the 2145 UPS-1U using four M3 × 6
screws 2 for each bracket, as shown in Figure 325.
4. Loosen the assembly wing nuts (1 in Figure 326 on page 316) on both rail assemblies and adjust the
rail size to the depth of your rack. After you adjust the depth, tighten the assembly wing nuts as
much as possible while still allowing some movement.
1
2
svc00034
Figure 324. Removing the rear rail on the 2145 UPS-1U
1
2
svc00004
Figure 325. Installing the support rails for a 2145 UPS-1U into the rack
Chapter 2. Removing and replacing parts 315

Table of Contents

Related product manuals