EasyManua.ls Logo

IEMCA Master 80 UP HyperFlexible - Lubrication Point Diagram

IEMCA Master 80 UP HyperFlexible
190 pages
Print Icon
To Next Page IconTo Next Page
To Next Page IconTo Next Page
To Previous Page IconTo Previous Page
To Previous Page IconTo Previous Page
Loading...
EN
7 - BAR FEEDER MAINTENANCE Master 80 UP HyperFlexible
7 - Pag. 8 / 8
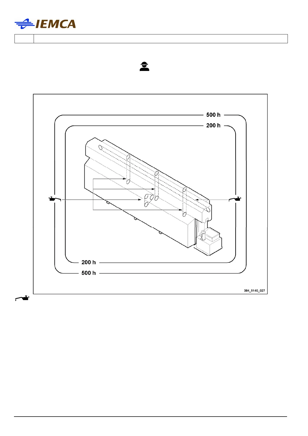
7.3 LUBRICATION POINT DIAGRAM
Oil

Table of Contents

Related product manuals