EasyManua.ls Logo

IEMCA Master 80 UP HyperFlexible - Remnant Conveyor Belt Replacement

IEMCA Master 80 UP HyperFlexible
190 pages
Print Icon
To Next Page IconTo Next Page
To Next Page IconTo Next Page
To Previous Page IconTo Previous Page
To Previous Page IconTo Previous Page
Loading...
9 - PART REPLACEMENT Master 80 UP HyperFlexible
EN
9 - Pag. 3 / 3
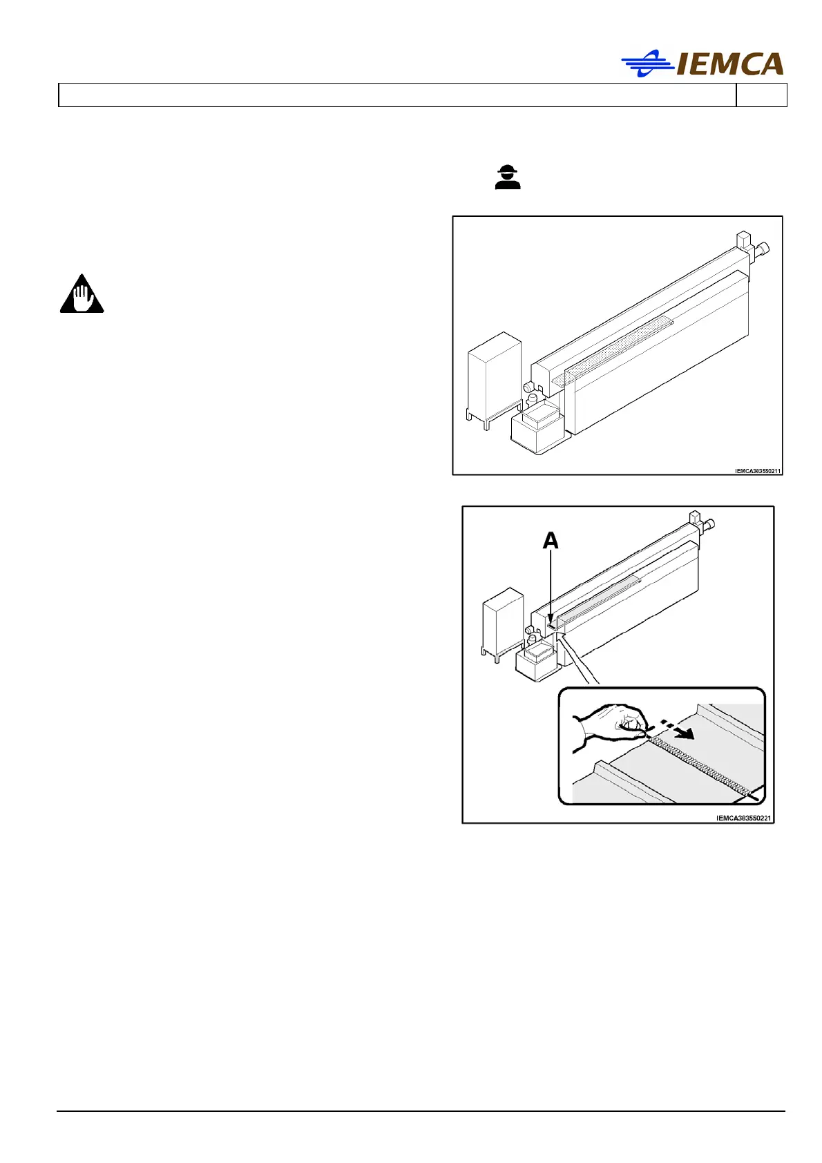
9.3 REMNANT CONVEYOR BELT - REPLACEMENT
Slacken the belt.
Lift the belt.
WARNING - CAUTION:
During this manoeuvre be careful not to
damage the remnant passage door.
Cut the worn belt so that it can be removed
from its seat.
Splice one end of the worn belt with one end of
the new belt. Slide out the worn belt so that
the new one can be simultaneously inserted
along the entire path.
Separate the worn belt from the new one.
Splice the ends of the new belt using lacing A.
Tension the belt according to the instructions
given in § "Remnant conveyor belt", section 5
.
Restore the bar feeder initial operating
conditions.

Table of Contents

Related product manuals