EasyManua.ls Logo

IEMCA Master 80 UP HyperFlexible - Page 83

IEMCA Master 80 UP HyperFlexible
190 pages
Print Icon
To Next Page IconTo Next Page
To Next Page IconTo Next Page
To Previous Page IconTo Previous Page
To Previous Page IconTo Previous Page
Loading...
5 - ADJUSTMENT AND SETUP Master 80 UP HyperFlexible
EN
5 - Pag. 3 / 3
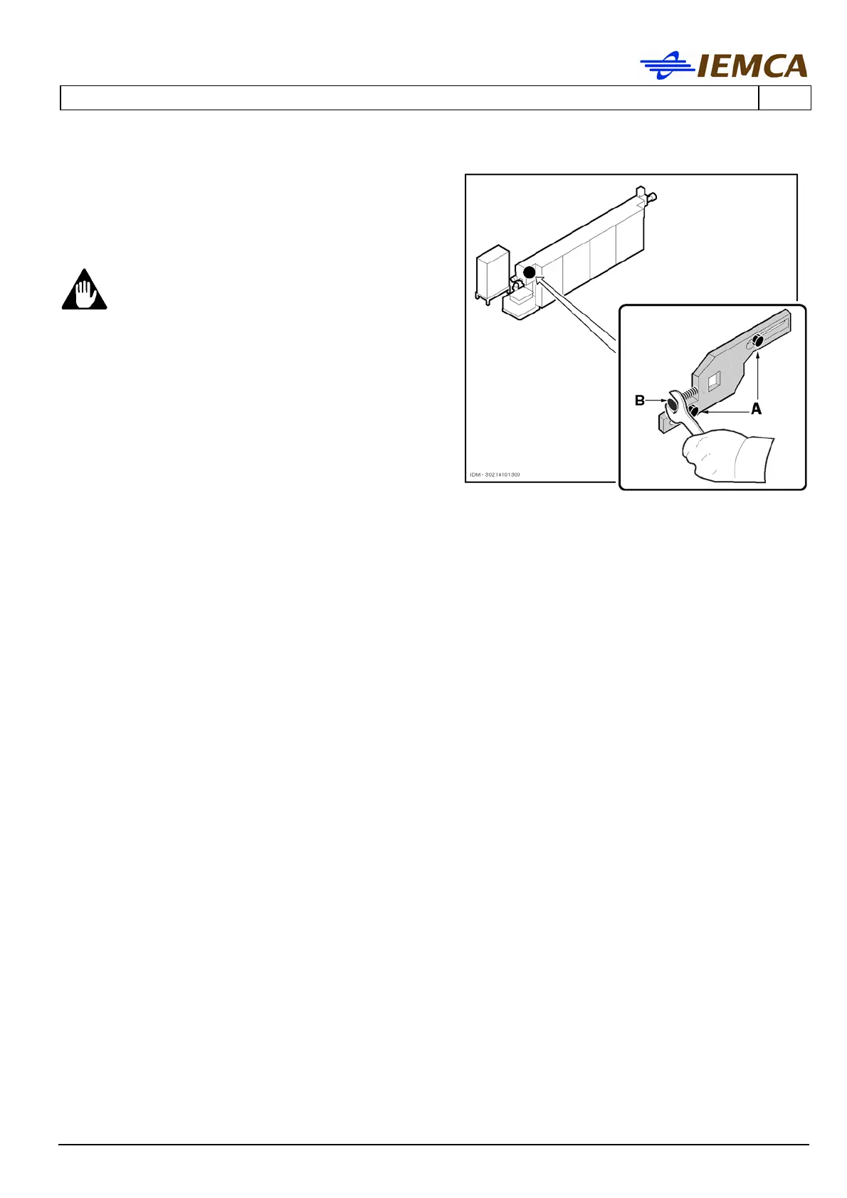
Loosen both screws (A) and adjust the chain
tension by turning screw (B).
Restore the bar feeder initial operating
conditions.
WARNING-CAUTION
Perform the chain adjustment by means
of a torque wrench, tighten screw (B)
by setting the torque to 4N/meter, then
tighten both fixing screws (A).

Table of Contents

Related product manuals