EasyManua.ls Logo

Intel 386 - Refresh Control Unit Connections

Intel 386
691 pages
Print Icon
To Next Page IconTo Next Page
To Next Page IconTo Next Page
To Previous Page IconTo Previous Page
To Previous Page IconTo Previous Page
Loading...
15-3
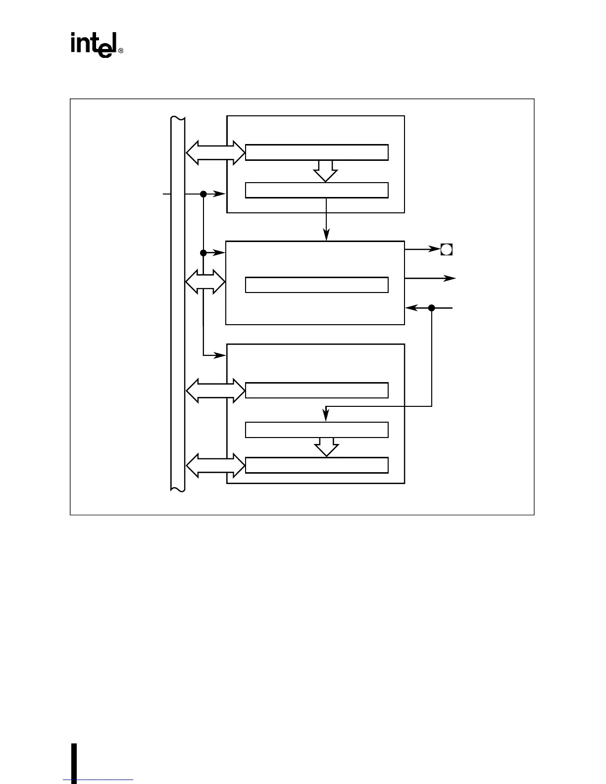
REFRESH CONTROL UNIT
Figure 15-1. Refresh Control Unit Connections
S
y
s
t
e
m
B
u
s
Interval Timer Unit
Refresh Clock Interval Register
10-bit Interval Counter
Control Unit
Address Generation Unit
Refresh Base Address Register
13-bit Address Counter
REFRESH#
(pin mux)
Refresh
Request
Refresh
Acknowledge
A25:14
A13:1
Refresh Control Register
Refresh Address Register
A2341-01
Timeout
Processor Clock
(CLK2/2)

Table of Contents

Related product manuals