EasyManua.ls Logo

Kostal INVEOR Drive Controller - Page 50

Kostal INVEOR Drive Controller
156 pages
Print Icon
To Next Page IconTo Next Page
To Next Page IconTo Next Page
To Previous Page IconTo Previous Page
To Previous Page IconTo Previous Page
Loading...
Installation
50 Operating manual for INVEOR α | DOC01539818 - 0004 | 2017-01 | V2.0 EN
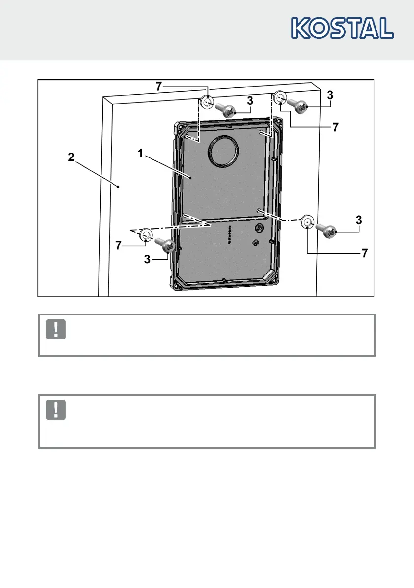
Fig.: 22 Fastening the adapter plate to the wall
IMPORTANT INFORMATION
The adapter plate must not be fitted overhead!
7. Secure adapter plate (1) to your chosen base (2).
8. Depending on the base, use appropriate retaining bolts* (3) and plain washers** (7) for
securing.
IMPORTANT INFORMATION
Screw drive controller down to base with no clearance.
Ensure that the seals are in full contact with the base.
* Not part of the scope of delivery
** Not part of the scope of delivery

Table of Contents

Related product manuals