EasyManua.ls Logo

Manitowoc Grove GMK6300L-1 - Page 13

Manitowoc Grove GMK6300L-1
1004 pages
Print Icon
To Next Page IconTo Next Page
To Next Page IconTo Next Page
To Previous Page IconTo Previous Page
To Previous Page IconTo Previous Page
Loading...
GMK6300L 3 302 676 en 1
02.11.2017
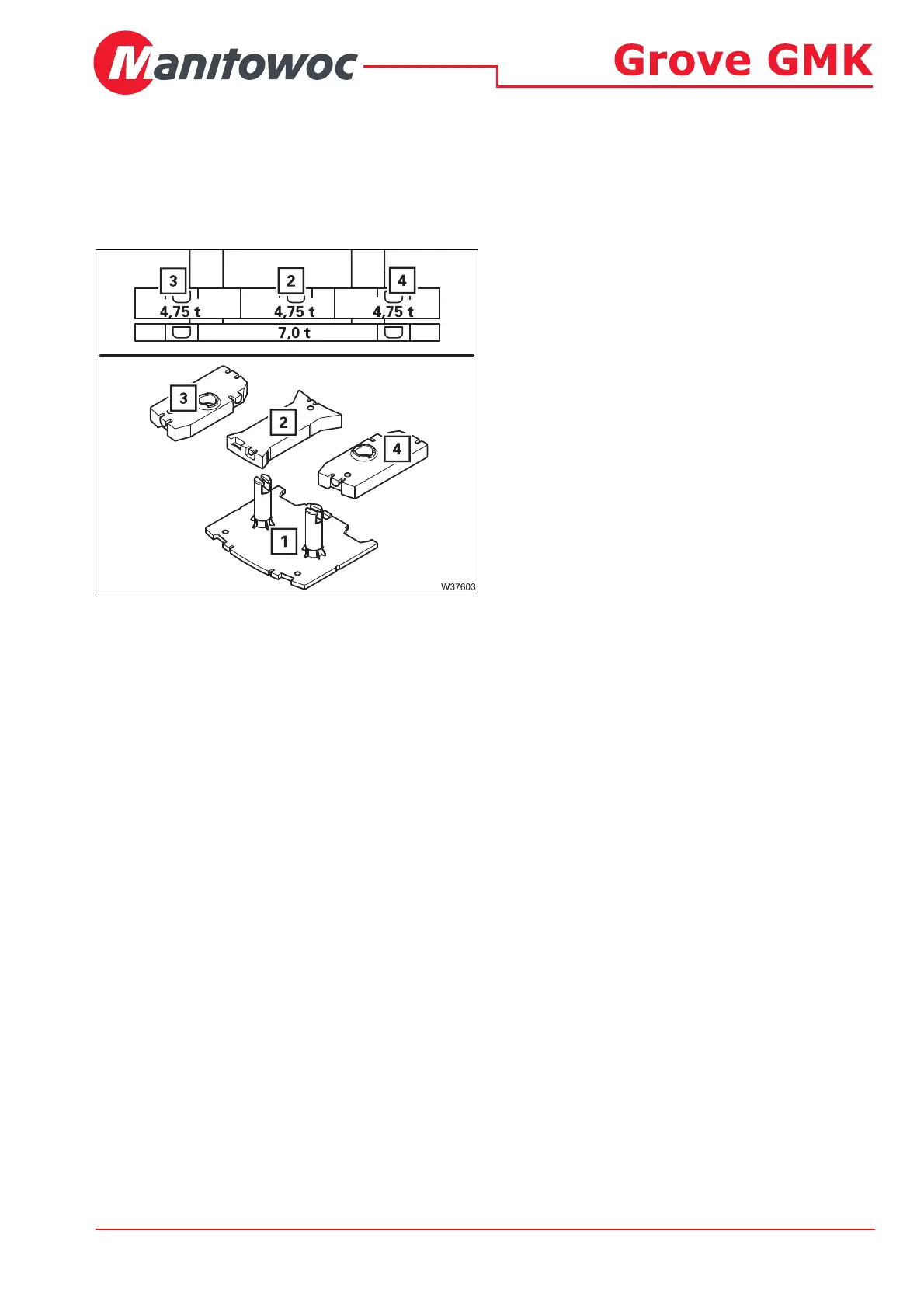
In the supplied documentation, for plates 2,
3 and 4 a weight of 4.75 t is presumed and in
illustrations the plates are labelled as 4.75 t.
The originally supplied plate
2 may also be
labelled as 4.5 t or 4.7 t depending on the
version.
The originally supplied plates
3 and 4 are
labelled as 4.7 t.
Regardless of the label on the supplied
plates
2 , 3 and 4 the weight of 4.75 t
is always valid for the composition of the
counter-weight combination.
Counterweight version B
Information on weight specifications

Table of Contents

Other manuals for Manitowoc Grove GMK6300L-1

Related product manuals