EasyManua.ls Logo

Manitowoc Grove GMK6300L-1 - Page 821

Manitowoc Grove GMK6300L-1
1004 pages
Print Icon
To Next Page IconTo Next Page
To Next Page IconTo Next Page
To Previous Page IconTo Previous Page
To Previous Page IconTo Previous Page
Loading...
Rigging work
12.7 Rigging/unrigging the counterweight
Operating Manual GMK6300L 3 112 xxx en 12 - 63
xx.xx.xxxx
Combinations for
the basic equip-
ment in version A
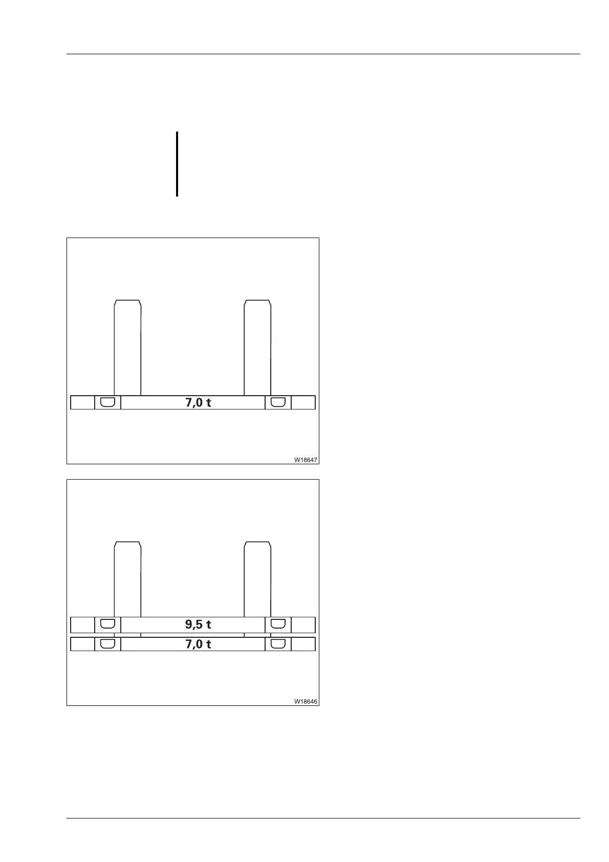
The following counterweight combinations can be combined on the coun-
terweight platform.
7.0 t (15,432 lbs)
7 t base plate
16.5 t (36,376 lbs)
7 t base plate
9.5 t section
s
G
Risk of accident due to an incorrect counterweight mass!
Only combine the counterweights in such a manner that the counterweight
mass corresponds to the specifications in this section and in the
Lifting
capacity table
. Other combinations are not permitted.

Table of Contents

Other manuals for Manitowoc Grove GMK6300L-1

Related product manuals