EasyManua.ls Logo

Omron SYSMAC CJ - REFERENCE MANUAL 08-2008 - Shift N-Bits Right: Nasr(581)

Omron SYSMAC CJ - REFERENCE MANUAL 08-2008
1405 pages
Print Icon
To Next Page IconTo Next Page
To Next Page IconTo Next Page
To Previous Page IconTo Previous Page
To Previous Page IconTo Previous Page
Loading...
403
Data Shift Instructions Section 3-9
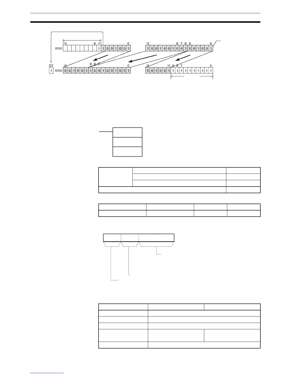
3-9-23 SHIFT N-BITS RIGHT: NASR(581)
Purpose Shifts the specified 16 bits of word data to the right by the specified number of
bits.
Ladder Symbol
Variations
Applicable Program Areas
Operands C: Control Word
Operand Specifications
0100
0100
Rightmost bit
a
Lost
No. of bits to shift: 10 bits
(Contents of the rightmost
bit is shifted in)
NASR(581)
D
C
D: Shift word
C: Control word
Variations Executed Each Cycle for ON Condition NASR(581)
Executed Once for Upward Differentiation @NASR(581)
Executed Once for Downward Differentiation Not supported
Immediate Refreshing Specification Not supported
Block program areas Step program areas Subroutines Interrupt tasks
OK OK OK OK
15 8 011 712
C
0
No. of bits to shift: 00 to 10 Hex
Always 0.
Data shifted into register
0 Hex: 0 shifted in
8 Hex: Contents of rightmost bit shifted in
Area D C
CIO Area CIO 0000 to CIO 6143
Work Area W000 to W511
Holding Bit Area H000 to H511
Auxiliary Bit Area A448 to A959 A000 to A447
A448 to A959
Timer Area T0000 to T4095

Table of Contents

Related product manuals