EasyManua.ls Logo

Omron SYSMAC CJ - REFERENCE MANUAL 08-2008 - Sequence Output Instructions; Output: out

Omron SYSMAC CJ - REFERENCE MANUAL 08-2008
1405 pages
Print Icon
To Next Page IconTo Next Page
To Next Page IconTo Next Page
To Previous Page IconTo Previous Page
To Previous Page IconTo Previous Page
Loading...
185
Sequence Output Instructions Section 3-4
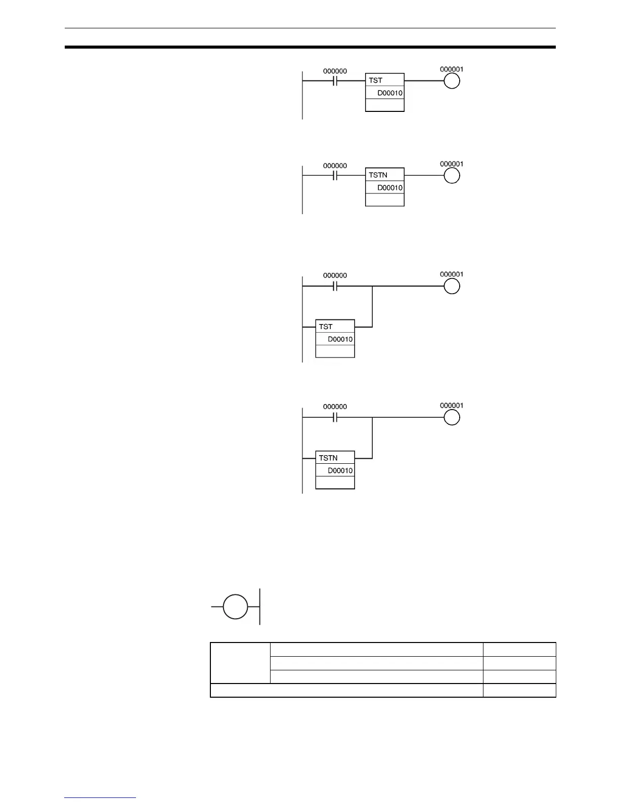
In the following example, CIO 000001 is turned ON when CIO 000000 is ON
and bit 5 of D00010 is OFF.
OR TST(350) and OR TSTN(351)
In the following example, CIO 000001 is turned ON when CIO 000000 or bit 3
of D00010 is ON.
In the following example, CIO 000001 is turned ON when CIO 000000 is ON
or bit 3 of D00010 is OFF.
3-4 Sequence Output Instructions
3-4-1 OUTPUT: OUT
Purpose Outputs the result (execution condition) of the logical processing to the speci-
fied bit.
Ladder Symbol
Variations
Note Immediate refreshing is not supported by CS1D CPU Units.
&3
&5
&3
&3
Variations Executed Each Cycle for ON Condition OUT
Executed Once for Upward Differentiation Not supported.
Executed Once for Downward Differentiation Not supported.
Immediate Refreshing Specification (See note.) !OUT

Table of Contents

Related product manuals