EasyManua.ls Logo

Omron SYSMAC CJ - REFERENCE MANUAL 08-2008 - Output Not: out Not

Omron SYSMAC CJ - REFERENCE MANUAL 08-2008
1405 pages
Print Icon
To Next Page IconTo Next Page
To Next Page IconTo Next Page
To Previous Page IconTo Previous Page
To Previous Page IconTo Previous Page
Loading...
187
Sequence Output Instructions Section 3-4
Example
Note Difference between SET/RSET and OUT
For OUT, the operand bit is turned ON when the input condition turns ON and
is turned OFF when the input condition turns OFF. For SET and RSET, the
operand bit turns ON or OFF, respectively, when the input condition turns ON
and the operand bit does not change when the input condition turns OFF.
Note Precaution for Index Registers
OUT is executed even when the input condition turns OFF. Be particularly
careful when programming OUT using an indirect index register address.
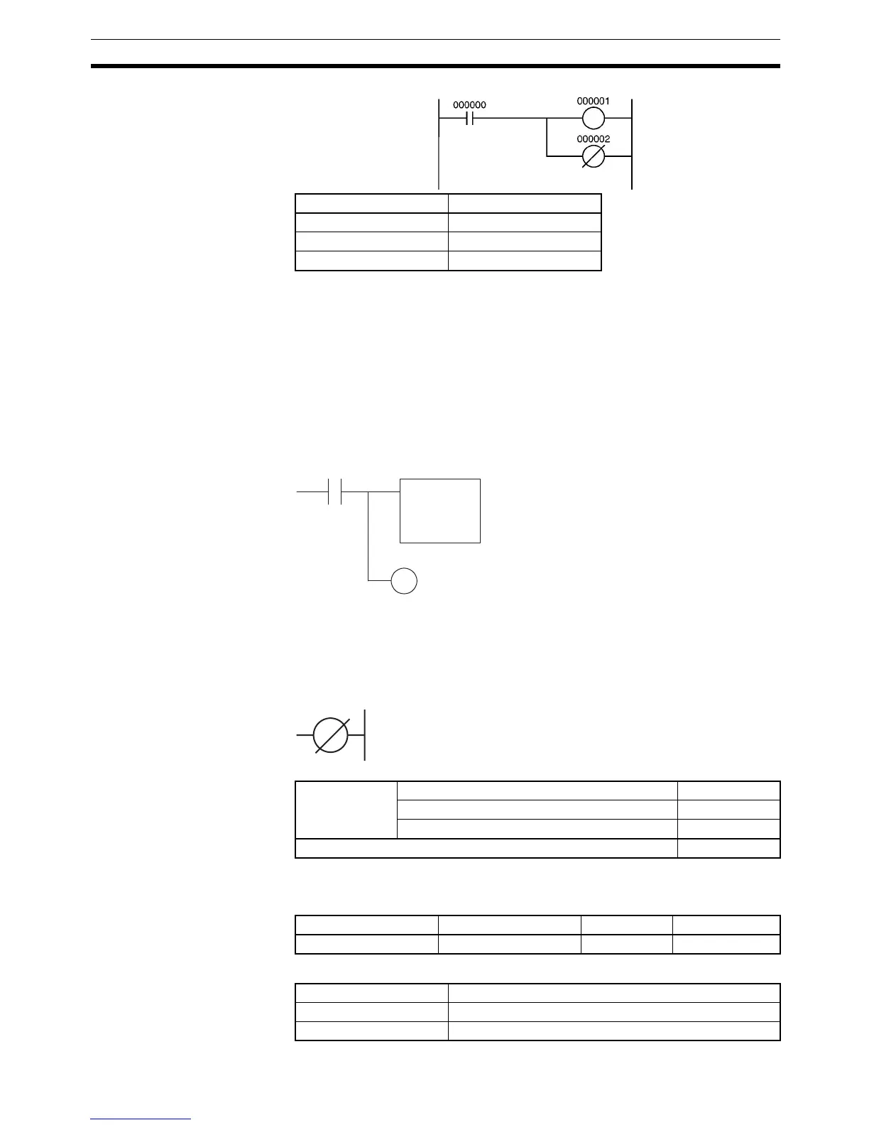
3-4-2 OUTPUT NOT: OUT NOT
Purpose Reverses the result (execution condition) of the logical processing, and out-
puts it to the specified bit.
Ladder Symbol
Variations
Note Immediate refreshing is not supported by CS1D CPU Units.
Applicable Program Areas
Operand Specifications
Instruction Operand
LD 000000
OUT 000001
OUT NOT 000002
,IR0
MOVR
W0.0
IR0
Input condition
When the input condition is OFF,
MOVR(560) is not executed, but OUT
is executed for the address stored in
the index register.
Variations Executed Each Cycle for ON Condition OUT NOT
Executed Once for Upward Differentiation Not supported.
Executed Once for Downward Differentiation Not supported.
Immediate Refreshing Specification (See note.) !OUT NOT
Block program areas Step program areas Subroutines Interrupt tasks
Not allowed OK OK OK
Area OUT bit operand
CIO Area CIO 000000 to CIO 614315
Work Area W00000 to W51115

Table of Contents

Related product manuals