EasyManua.ls Logo

Omron SYSMAC CJ - REFERENCE MANUAL 08-2008 - Page 456

Omron SYSMAC CJ - REFERENCE MANUAL 08-2008
1405 pages
Print Icon
To Next Page IconTo Next Page
To Next Page IconTo Next Page
To Previous Page IconTo Previous Page
To Previous Page IconTo Previous Page
Loading...
416
Increment/Decrement Instructions Section 3-10
of the specified words is decremented only when the execution condition has
gone from OFF to ON.
The Equals Flag will be turned ON if the result is 0000 0000, the Carry Flag
will be turned ON when a digit changes from 0 to F, and the Negative Flag will
be turned ON if bit 15 of Wd+1 is ON in the result.
Both the Carry Flag and the Negative Flag will be turned ON when the content
changes from 0000 0000 to FFFF FFFF.
Flags
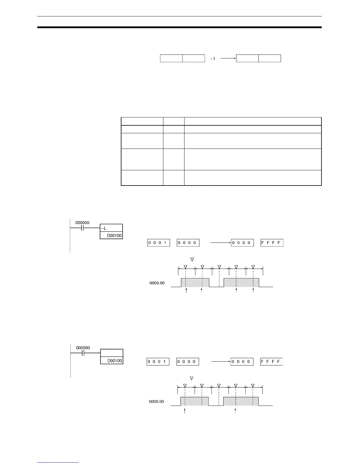
Examples Operation of – –L(593)
In the following example, the 8-digit hexadecimal content of D00101 and
D00100 will be decremented by 1 every cycle as long as CIO 000000 is ON.
Operation of @– –L(593)
The up-differentiated variation is used in the following example, so the content
of D00101 and D00100 will be decremented by 1 only when CIO 000000 has
gone from OFF to ON.
Wd+1 Wd Wd+1 Wd
Name Label Operation
Error Flag ER OFF
Equals Flag = ON if the result is 0000 0000 after execution.
OFF in all other cases.
Carry Flag CY ON if a digit in Wd+1 or Wd went from 0 to F during exe-
cution.
OFF in all other cases.
Negative Flag N ON if bit 15 of Wd+1 is ON after execution.
OFF in all other cases.
D00101 D00100 D00101 D00100
1
Decrement Decrement
DecrementDecrement
Wd+1: Wd: Wd+1: Wd:
Decremented every cycle
while CIO 000000 is ON.
: Execution of − −L(593)
@
1
D00101 D00100 D00101 D00100
Decrement
Decrement
− −L
Wd+1: Wd: Wd+1: Wd:
: Execution of @ − −L(593)
Decremented only
for up-differentiation.

Table of Contents

Related product manuals