EasyManua.ls Logo

Omron SYSMAC CJ - REFERENCE MANUAL 08-2008 - Page 464

Omron SYSMAC CJ - REFERENCE MANUAL 08-2008
1405 pages
Print Icon
To Next Page IconTo Next Page
To Next Page IconTo Next Page
To Previous Page IconTo Previous Page
To Previous Page IconTo Previous Page
Loading...
424
Increment/Decrement Instructions Section 3-10
of the specified words is decremented only when the execution condition has
gone from OFF to ON.
The Equals Flag will be turned ON if the result is 0000 0000 and the Carry
Flag will be turned ON when a digit changes from 0 to 9.
Flags
Precautions The content of Wd+1 and Wd must be BCD. If it is not BCD, an error will occur
and the Error Flag will be turned ON.
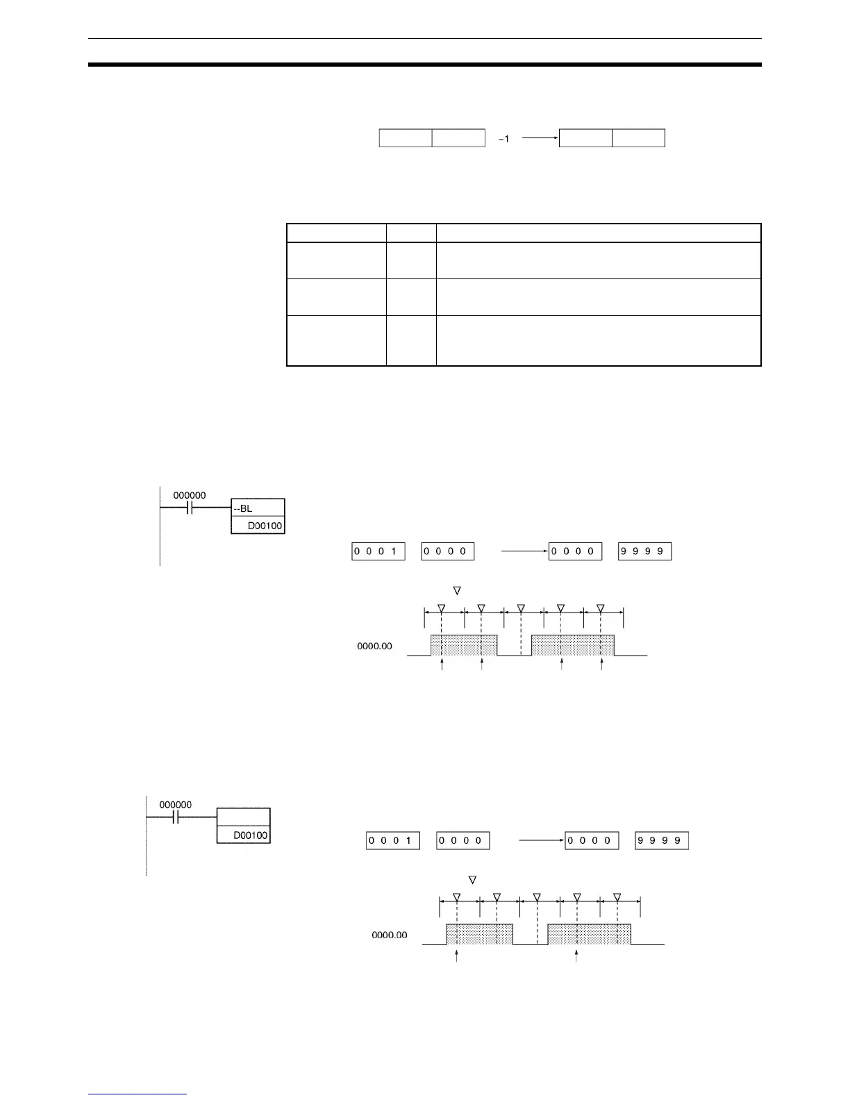
Examples Operation of – –BL(597)
In the following example, the 8-digit BCD content of D00101 and D00100 will
be decremented by 1 every cycle as long as CIO 000000 is ON.
Operation of @– –BL(597)
The up-differentiated variation is used in the following example, so the BCD
content of D00101 and D00100 will be decremented by 1 only when
CIO 000000 has gone from OFF to ON.
Wd+1 Wd Wd+1 Wd
Name Label Operation
Error Flag ER ON if the content of Wd+1 and Wd is not BCD.
OFF in all other cases.
Equals Flag = ON if the result is 0000 0000 after execution.
OFF in all other cases.
Carry Flag CY ON if a digit in Wd+1 or Wd went from 0 to 9 during exe-
cution.
OFF in all other cases.
D00100 D00101 D00100 D00101
Decrement Decrement Decrement Decrement
Wd:Wd+1: Wd:Wd+1:
1
Decremented every cycle
while CIO 000000 is ON.
: Execution of −−BL(597)
@
− −BL
1
D00100 D00101 D00100 D00101
Decrement Decrement
Wd:Wd+1: Wd:Wd+1:
: Execution of @− −BL(597)
Decremented only
for up-differentiation.

Table of Contents

Related product manuals