Home
Omron
Controller
SYSMAC CJ - REFERENCE MANUAL 08-2008
Page 954
Omron SYSMAC CJ - REFERENCE MANUAL 08-2008 - Page 954
1405 pages
Manual
Save Page as PDF
To Next Page
To Next Page
To Previous Page
To Previous Page
Loading...
914
Step Instruction
s
Section 3
-22
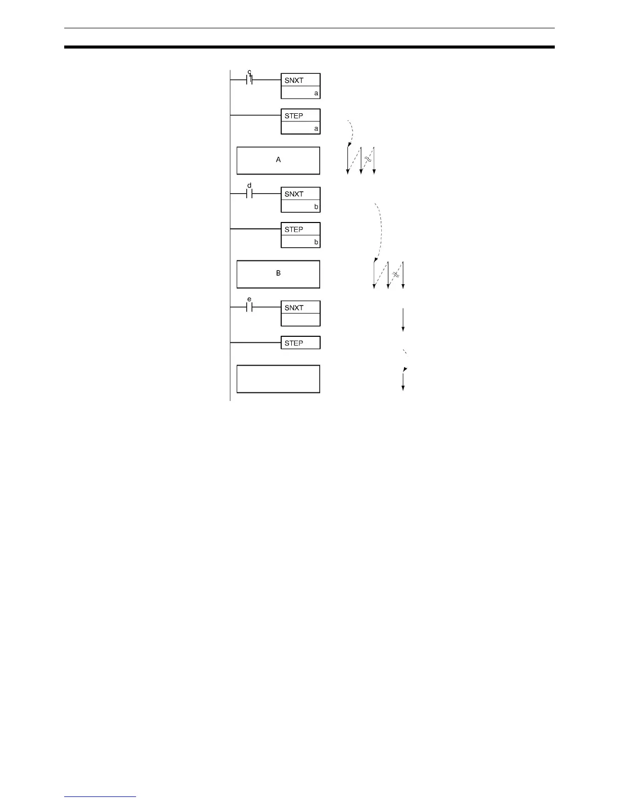
Step a starts when C turns ON
A executed
When d turns ON, b starts (A is interlocked)
B executed
e turns ON (B is interlocked)
End of step programming area
Normal ladder
program
Returns to normal ladder program
953
955
Table of Contents
Main Page
Table of Contents
21
Precautions
31
Operate a PLC System.
32
Controllers. You Must Read this Section and Understand the Information Contained before Attempting to Set up or
32
Intended Audience
32
General Precautions
32
Safety Precautions
32
Operating Environment Precautions
34
Application Precautions
34
Conformance to EC Directives
38
Applicable Directives
38
Concepts
38
Conformance to EC Directives
39
Relay Output Noise Reduction Methods
39
Introduction
41
General Instruction Characteristics
42
Instruction Execution Checks
53
Section 2 Summary of Instructions
55
Summary of Instructions
55
Instruction Classifications by Function
56
Instruction Functions
65
Sequence Input Instructions
65
Sequence Output Instructions
67
Sequence Control Instructions
70
Timer and Counter Instructions
74
Comparison Instructions
79
Data Movement Instructions
83
Data Shift Instructions
86
Increment/Decrement Instructions
90
Symbol Math Instructions
91
Conversion Instructions
96
Logic Instructions
103
Special Math Instructions
105
Floating-Point Math Instructions
106
Double-Precision Floating-Point Instructions
111
Data Control Instructions
119
Subroutine Instructions
123
Interrupt Control Instructions
124
(CJ1M-CPU21/22/23 Only)
126
High-Speed Counter and Pulse Output Instructions
126
Basic I/O Unit Instructions
128
Step Instructions
128
Serial Communications Instructions
132
Network Instructions
133
File Memory Instructions
136
Clock Instructions
138
Display Instructions
138
Debugging Instructions
139
Failure Diagnosis Instructions
140
Other Instructions
141
Block Programming Instructions
142
Text String Processing Instructions
148
Task Control Instructions
151
Model Conversion Instructions (CPU Unit Ver. 3.0 or Later Only)
152
Special Function Block Instructions
153
Alphabetical List of Instructions by Mnemonic
154
List of Instructions by Function Code
171
Section 3 Instructions
187
Instructions
187
Notation and Layout of Instruction Descriptions
195
Instruction Upgrades and New Instructions
198
Upgrades for CS1-H/CJ1-H CPU Units
198
Sequence Input Instructions
201
Load: Ld
201
Load Not: Ld Not
203
And: and
205
And Not: and Not
207
Or: or
209
Or Not: or Not
211
And Load: and Ld
212
Or Load: or Ld
214
Differentiated and Immediate Refreshing Instructions
217
Operation Timing for I/O Instructions
218
TR Bits
218
Not: Not(520)
220
CONDITION ON/OFF: up(521) and down(522)
221
BIT TEST: TST(350) and TSTN(351)
222
Sequence Output Instructions
225
Output: out
225
Output Not: out Not
227
Keep: Keep(011)
228
DIFFERENTIATE UP/DOWN: DIFU(013) and DIFD(014)
233
SET and RESET: SET and RSET
235
Multiple Bit Set/Reset: Seta(530)/Rsta(531)
238
Single Bit Set/Reset: Setb(532)/Rstb(533)
241
Single Bit Output: Outb(534)
244
Sequence Control Instructions
246
End: End(001)
246
No Operation: Nop(000)
247
Overview of Interlock Instructions
248
INTERLOCK and INTERLOCK CLEAR: IL(002) and ILC
250
Multi-Interlock Differentiation Hold
254
MULTI-INTERLOCK DIFFERENTIATION RELEASE, and
254
JUMP and JUMP END: JMP(004) and JME
268
Conditional Jump: Cjp(510)/Cjpn(511
272
MULTIPLE JUMP and JUMP END: JMP0(515) and JME0
276
For-Next Loops: for(512)/Next
278
Break Loop: Break(514)
281
Timer and Counter Instructions
282
Hundred-Ms Timer: Tim/Timx(550)
285
Ten-Ms Timer: Timh(015)/Timhx
289
One-Ms Timer: Tmhh(540)/Tmhhx
293
Tenth-Ms Timer: Timu(541)/Timux(556
296
Hundredth-Ms Timer: Tmuh(544)/Tmuhx(557
299
Accumulative Timer: Ttim(087)/Ttimx(555
302
Long Timer: Timl(542)/Timlx(553
306
Multi-Output Timer: Mtim(543)/Mtimx(554
309
Counter: Cnt/Cntx(546)
315
Reversible Counter: Cntr(012)/Cntrx(548)
318
Reset Timer/Counter: Cnr(545)/Cnrx(547)
322
Example Timer and Counter Applications
324
Indirect Addressing of Timer/Counter Numbers
328
Comparison Instructions
331
Input Comparison Instructions (300 to 328)
331
Time Comparison Instructions (341 to 346)
337
Compare: Cmp
343
Double Compare: Cmpl
346
Signed Binary Compare: Cps
349
Double Signed Binary Compare: Cpsl
352
Multiple Compare: Mcmp
355
Block Compare: Bcmp
360
Expanded Block Compare: Bcmp2(502)
362
Area Range Compare: Zcp(088)
366
Double Area Range Compare: Zcpl(116)
369
Data Movement Instructions
371
Move: Mov(021)
371
Move Not: Mvn
373
Double Move: Movl
374
Double Move Not: Mvnl
376
Move Bit: Movb
377
Move Digit: Movd
379
Multiple Bit Transfer: Xfrb
382
Block Transfer: Xfer
384
Block Set: Bset
387
Data Exchange: Xchg(073)
389
Double Data Exchange: Xcgl(562)
390
Single Word Distribute: Dist(080)
392
Data Collect: Coll(081)
394
Move to Register: Movr(560)
396
Move Timer/Counter Pv to Register: Movrw(561)
398
Data Shift Instructions
400
Shift Register: Sft
401
Reversible Shift Register: Sftr
402
Asynchronous Shift Register: Asft
405
Word Shift: Wsft
408
Arithmetic Shift Left: Asl
410
Double Shift Left: Asll
411
Arithmetic Shift Right: Asr
413
Double Shift Right: Asrl
414
Rotate Left: Rol
416
Double Rotate Left: Roll(572)
418
Rotate Right: Ror(028)
420
Double Rotate Right: Rorl(573)
421
Rotate Left Without Carry: Rlnc(574)
423
Double Rotate Left Without Carry: Rlnl(576)
425
Rotate Right Without Carry: Rrnc(575)
427
Double Rotate Right Without Carry: Rrnl(577)
428
One Digit Shift Left: Sld(074)
430
One Digit Shift Right: Srd(075)
432
Shift N-Bit Data Left: Nsfl(578)
433
Shift N-Bit Data Right: Nsfr(579)
435
Shift N-Bits Left: Nasl(580)
437
Double Shift N-Bits Left: Nsll(582)
440
Shift N-Bits Right: Nasr(581)
443
Double Shift N-Bits Right: Nsrl(583)
445
Increment/Decrement Instructions
449
Increment Binary: ++(590)
449
Double Increment Binary: ++L(591)
451
Decrement Binary: - -(592)
453
Double Decrement Binary: - -L(593)
455
Increment Bcd: ++B(594)
457
Double Increment Bcd: ++Bl(595)
459
Decrement Bcd: - -B(596)
461
Double Decrement Bcd: - -Bl(597)
463
Symbol Math Instructions
465
Signed Binary Add Without Carry: +(400)
466
Double Signed Binary Add Without Carry: +L(401)
468
Signed Binary Add with Carry: +C(402)
470
Double Signed Binary Add with Carry: +Cl(403)
472
Bcd Add Without Carry: +B(404)
474
Double Bcd Add Without Carry: +Bl(405)
475
Bcd Add with Carry: +Bc(406)
477
Double Bcd Add with Carry: +Bcl(407)
479
Signed Binary Subtract Without Carry: -(410)
480
Double Signed Binary Subtract Without Carry: -L(411)
482
Signed Binary Subtract with Carry: -C(412)
486
Double Signed Binary Subtract with Carry: -Cl(413)
488
Bcd Subtract Without Carry: -B(414)
491
Double Bcd Subtract Without Carry: -Bl(415)
492
Bcd Subtract with Carry: -Bc(416)
496
Double Bcd Subtract with Carry: -Bcl(417)
497
Signed Binary Multiply: *(420)
499
Double Signed Binary Multiply: *L(421)
501
Unsigned Binary Multiply: *U(422)
503
Double Unsigned Binary Multiply: *Ul(423)
505
Bcd Multiply: *B(424)
507
Double Bcd Multiply: *Bl(425)
509
Signed Binary Divide: /(430)
511
Double Signed Binary Divide: /L(431)
513
Unsigned Binary Divide: /U(432)
515
Double Unsigned Binary Divide: /Ul(433)
517
Bcd Divide: /B(434)
519
Double Bcd Divide: /Bl(435)
521
Conversion Instructions
523
Bcd to Binary: bin(023)
523
Double Bcd to Double Binary: Binl(058)
525
Binary to Bcd: Bcd(024)
527
Double Binary to Double Bcd: Bcdl(059)
529
2'S Complement: Neg(160)
531
Double 2'S Complement: Negl(161)
533
16-Bit to 32-Bit Signed Binary: Sign(600)
534
Data Decoder: Mlpx(076)
536
Data Encoder: Dmpx(077)
540
Ascii Convert: Asc(086)
544
Ascii to Hex: Hex(162)
548
Column to Line: Line(063)
552
Line to Column: Colm(064)
554
Signed Bcd to Binary: Bins(470)
557
Double Signed Bcd to Binary: Bisl(472)
560
Signed Binary to Bcd: Bcds(471)
563
Double Signed Binary to Bcd: Bdsl(473)
565
Gray Code Convert: Gry(474)
569
Four-Digit Number to Ascii: Str4(601)
574
Eight-Digit Number to Ascii: Str8(602)
577
Sixteen-Digit Number to Ascii: Str16(603)
579
Ascii to Four-Digit Number: Num4(604)
581
Ascii to Eight-Digit Number: Num8(605)
584
Ascii to Sixteen-Digit Number: Num16(606)
585
Logic Instructions
588
Logical And: Andw(034)
588
Double Logical And: Andl(610)
590
Logical Or: Orw(035)
591
Double Logical Or: Orwl(611)
593
Exclusive Or: Xorw(036)
595
Double Exclusive Or: Xorl(612)
597
Exclusive Nor: Xnrw(037)
599
Double Exclusive Nor: Xnrl(613)
600
Complement: Com(029)
602
Double Complement: Coml(614)
604
Special Math Instructions
605
Binary Root: Rotb(620)
605
Bcd Square Root: Root(072)
607
Arithmetic Process: Apr(069)
611
Floating Point Divide: Fdiv(079)
623
Bit Counter: Bcnt(067)
627
Floating-Point Math Instructions
629
Floating to 16-Bit: Fix(450)
634
Floating to 32-Bit: Fixl(451)
636
16-Bit to Floating: Flt(452)
637
32-Bit to Floating: Fltl(453)
639
Floating-Point Add: +F(454)
641
Floating-Point Subtract: -F(455)
643
Floating-Point Multiply: *F(456)
646
Floating-Point Divide: /F(457)
647
Degrees to Radians: Rad(458)
649
Radians to Degrees: Deg(459)
650
Sine: sin(460)
652
High-Speed Sine: Sinq(475)
654
Cosine: Cos(461)
655
High-Speed Cosine: Cosq(476)
657
Tangent: tan(462)
659
High-Speed Tangent: Tanq(477)
661
Arc Sine: Asin(463)
663
Arc Cosine: Acos(464)
665
Arc Tangent: Atan(465)
667
Square Root: Sqrt(466)
669
Exponent: Exp(467)
671
Logarithm: Log(468)
673
Exponential Power: Pwr(840)
675
Single-Precision Floating-Point Comparison Instructions
676
Floating-Point to Ascii: Fstr(448)
680
Ascii to Floating-Point: Fval(449)
685
Move Floating-Point (Single): Movf(469)
689
Double-Precision Floating-Point Instructions (CS1-H, CJ1-H, CJ1M, or CS1D Only)
691
Double Floating to 16-Bit: Fixd(841)
697
Double Floating to 32-Bit: Fixld(842)
698
16-Bit to Double Floating: Dbl(843)
700
32-Bit to Double Floating: Dbll(844)
701
Double Floating-Point Add: +D(845)
703
Double Floating-Point Subtract: -D(846)
705
Double Floating-Point Multiply: *D(847)
708
Double Floating-Point Divide: /D(848)
709
Double Degrees to Radians: Radd(849)
711
Double Radians to Degrees: Degd(850)
713
Double Sine: sind(851)
714
Double Cosine: Cosd(852)
716
Double Tangent: Tand(853)
718
Double Arc Sine: Asind(854)
720
Double Arc Cosine: Acosd(855)
722
Double Arc Tangent: Atand(856)
724
Double Square Root: Sqrtd(857)
726
Double Exponent: Expd(858)
728
Double Logarithm: Logd(859)
730
Double Exponential Power: Pwrd(860)
732
Double-Precision Floating-Point Input Instructions
734
Table Data Processing Instructions
737
Set Stack: Sset(630)
743
Push Onto Stack: Push(632)
746
First in First Out: Fifo(633)
749
Last in First Out: Lifo(634)
752
Dimension Record Table: DIM(631)
755
Set Record Location: Setr(635)
758
Get Record Number: Getr(636)
760
Data Search: Srch(181)
762
Swap Bytes: Swap(637)
765
Find Maximum: Max(182)
767
Find Minimum: Min(183)
771
Sum: Sum(184)
775
Frame Checksum: Fcs(180)
778
Stack Size Read: Snum(638)
782
Stack Data Read: Sread(639)
784
Stack Data Overwrite: Swrit(640)
787
Stack Data Insert: Sins(641)
790
Stack Data Delete: Sdel(642)
793
Data Control Instructions
797
Pid Control: Pid(190)
797
Pid Control with Autotuning: Pidat(191)
809
Limit Control: Lmt(680)
819
Dead Band Control: Band(681)
821
Dead Zone Control: Zone(682)
824
Time-Proportional Output: Tpo(685)
827
Scaling: Scl(194)
835
Scaling 2: Scl2(486)
840
Scaling 3: Scl3(487)
844
Average: Avg(195)
847
Subroutines
851
Subroutine Call: Sbs(091)
851
Macro: Mcro(099)
857
Subroutine Entry: Sbn(092)
861
Global Subroutine Call: Gsbs(750)
864
Subroutine Return: Ret(093)
864
Global Subroutine Entry: Gsbn(751)
872
Global Subroutine Return: Gret(752)
875
Interrupt Control Instructions
876
Set Interrupt Mask: Msks(690)
879
Read Interrupt Mask: Mskr(692)
886
Clear Interrupt: Cli(691)
891
Disable Interrupts: DI(693)
895
Enable Interrupts: Ei(694)
898
Summary of Interrupt Control
899
High-Speed Counter/Pulse Output Instructions
904
MODE CONTROL: INI(880) (CJ1M-CPU21/22/23 Only)
904
HIGH-SPEED COUNTER PV READ: PRV(881) (CJ1M-CPU21/22/23 Only)
908
Counter Frequency Convert: Prv2(883)
914
REGISTER COMPARISON TABLE: CTBL(882) (CJ1M-CPU21/22/23 Only)
918
SPEED OUTPUT: SPED(885) (CJ1M-CPU21/22/23 Only)
922
SET PULSES: PULS(886) (CJ1M-CPU21/22/23 Only)
927
PULSE OUTPUT: PLS2(887) (CJ1M-CPU21/22/23 Only)
930
ACCELERATION CONTROL: ACC(888) (CJ1M-CPU21/22/23 Only)
936
ORIGIN SEARCH: ORG(889) (CJ1M-CPU21/22/23 Only)
943
PULSE with VARIABLE DUTY FACTOR: PWM(891) (CJ1M-CPU21/22/23 Only)
946
Step Instructions
948
STEP DEFINE and STEP START: STEP(008)/SNXT(009)
949
Basic I/O Unit Instructions
966
I/O Refresh: Iorf(097)
966
Special I/O Unit I/O Refresh: Fiorf(225)
969
Cpu Bus Unit I/O Refresh: Dlnk(226)
972
7-Segment Decoder: Sdec(078)
977
Digital Switch Input - Dsw(210)
980
Ten Key Input - Tky(211)
985
Hexadecimal Key Input - Hky(212)
988
Matrix Input: Mtr(213)
993
7-Segment Display Output - 7Seg(214)
997
Intelligent I/O Read: Iord(222)
1002
Intelligent I/O Write: Iowr(223)
1007
Serial Communications Instructions
1012
Serial Communications
1012
Protocol Macro: Pmcr(260)
1014
Transmit: Txd(236)
1023
Receive: Rxd(235)
1033
Transmit Via Serial Communications Unit: Txdu(256)
1045
Receive Via Serial Communications Unit: Rxdu(255)
1053
Change Serial Port Setup: Stup(237)
1061
Network Instructions
1066
About SYSMAC NET Link/Sysmac LINK Operations
1066
About Explicit Message Instructions
1079
Network Send: Send(090)
1084
Network Receive: Recv(098)
1090
Deliver Command: Cmnd(490)
1096
Explicit Message Send: Explt(720)
1106
Explicit Get Attribute: Egatr(721)
1114
Explicit Set Attribute: Esatr(722)
1121
Explicit Word Read: Echrd(723)
1127
Explicit Word Write: Echwr(724)
1131
File Memory Instructions
1135
Precautions When Using Memory Cards
1135
Read Data File: Fread(700)
1139
Write Data File: Fwrit(701)
1146
Write Text File: Twrit(704)
1153
Display Instructions: DISPLAY MESSAGE: MSG(046)
1159
Clock Instructions
1162
Calendar Add: Cadd(730)
1162
Calendar Subtract: Csub(731)
1166
Hours to Seconds: Sec(065)
1169
Seconds to Hours: Hms(066)
1171
Clock Adjustment: Date(735)
1174
Section 3-28 Clock Instructions
1175
Default Chapter
1176
Debugging Instructions
1176
Trace Memory Sampling: TRSM(045)
1176
Failure Diagnosis Instructions
1180
Failure Alarm: Fal(006)
1180
Operand Specifications
1181
Area
1181
Severe Failure Alarm: Fals(007)
1188
Failure Point Detection: Fpd(269)
1196
Other Instructions
1205
Clear Carry: Clc(041)
1206
Set Carry: Stc(040)
1206
Select Em Bank: Embc(281)
1207
Extend Maximum Cycle Time: Wdt(094)
1209
Save Condition Flags: Ccs(282)
1211
Load Condition Flags: Ccl(283)
1213
Convert Address from CV: Frmcv(284)
1214
CIO Area CIO 0000 to CIO
1216
Work Area
1216
Holding Bit Area
1216
Auxiliary Bit Area
1216
Timer Area
1216
T0000 to T4092
1216
Counter Area
1216
C0000 to C4092
1216
DM Area
1216
D00000 to D32764
1216
Indirect DM/EM
1217
D00000 to @ D32767
1217
Addresses in Binary
1217
E00000 to @ E32767
1217
En_00000 to @ En_32767
1217
Indirect DM/EM *D00000 to *D32767
1217
Addresses in BCD
1217
Constants
1217
Data Registers
1217
Index Registers
1217
Convert Address to CV: Tocv(285)
1219
DISABLE PERIPHERAL SERVICING: IOSP(287) (CS1-H/CJ1-H/CJ1M Only)
1223
ENABLE PERIPHERAL SERVICING: IORS(288) (CS1-H/CJ1-H/CJ1M Only)
1225
Block Programming Instructions
1226
Introduction
1226
Block Program Begin/End: Bprg(096)/Bend(801)
1231
Block Program Pause/Restart: Bpps(811)/Bprs(812)
1233
Branching: if(802), else(803), and IEND(804)
1236
Conditional Block Exit (Not): Exit (Not)(806)
1239
Indirect Addressing ,IR0 to ,IR15
1240
DR0 to DR15, IR0 to IR15
1240
One Cycle and Wait (Not): Wait(805)/Wait(805) Not
1242
HUNDRED-MS TIMER WAIT: TIMW(813) and TIMWX(816)
1246
COUNTER WAIT: CNTW(814) and CNTWX(818)
1249
TEN-MS TIMER WAIT: TMHW(815) and TMHWX(817)
1252
Loop Control: LOOP(809)/LEND(810)/LEND(810) NOT
1255
Text String Processing Instructions
1260
Text String Processing Overview
1260
Mov String: Mov$(664)
1261
Concatenate String: +$(656)
1263
Get String Left: Left$(652)
1266
IR0+(++) to ,IR15+(++) ,-(- -)IR0 To, -(- -)IR15
1267
Description
1267
Get String Right: Rght$(653)
1268
Get String Middle: MID$(654)
1270
Find in String: Find$(660)
1273
String Length: Len$(650)
1275
Replace in String: Rplc$(661)
1277
Delete String: Del$(658)
1280
Exchange String: Xchg$(665)
1282
Clear String: Clr$(666)
1285
Insert into String: Ins$(657)
1286
String Comparison Instructions (670 to 675)
1290
Task Control Instructions
1295
Task On: Tkon(820)
1295
Task Off: Tkof(821)
1298
Model Conversion Instructions (Unit Ver. 3.0 or Later)
1301
Block Transfer: Xferc(565)
1303
Single Word Distribute: Distc(566)
1306
Data Collect: Collc(567)
1309
Instruction Execution Times and Number of Steps
1321
CS-Series Instruction Execution Times and Number of Steps
1323
CJ-Series Instruction Execution Times and Number of Steps
1352
A ASCII Code Table
1391
Appendix
1393
Index
1393
Revision History
1401
Related product manuals
Omron SYSMAC CS/CJ Series
383 pages
Omron SYSMAC C60K
225 pages
Omron SYSMAC C28K
225 pages
Omron SYSMAC C40K
225 pages
Omron SYSMAC C28P
95 pages
Omron Sysmac CP1H
18 pages
Omron SYSMAC C60P
95 pages
Omron SYSMAC C20P
211 pages
Omron SYSMAC C200H
64 pages
Omron SYSMAC CV1000
147 pages
Omron SYSMAC CV Series
636 pages
Omron SYSMAC C200H CPU01-E
172 pages