EasyManua.ls Logo

WinGD X92 - Page 540

Default Icon
574 pages
Print Icon
To Next Page IconTo Next Page
To Next Page IconTo Next Page
To Previous Page IconTo Previous Page
To Previous Page IconTo Previous Page
Loading...
Maintenance94035/A1
Winterthur Gas & Diesel Ltd.
8/ 41
94118A
94118B
94118C
94118D
1
1
1
1
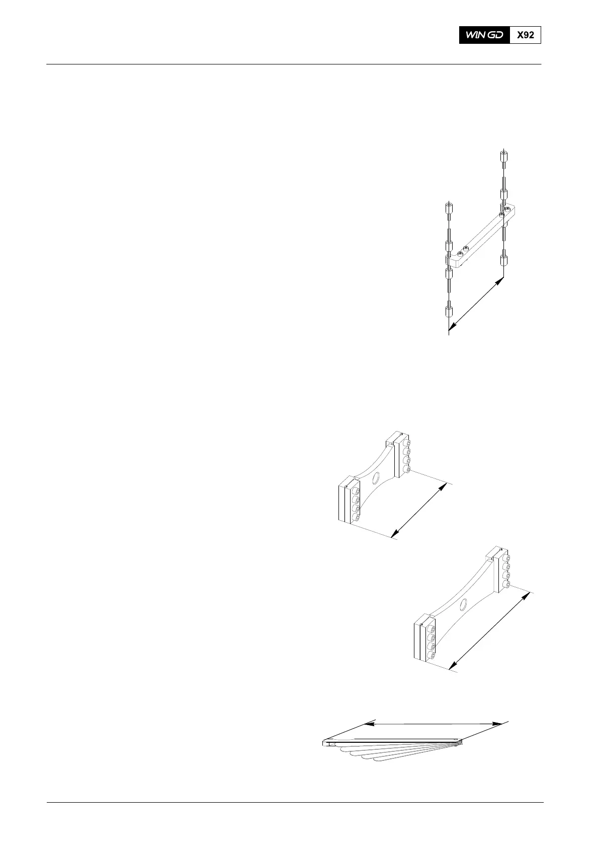
Turning-out device
For 67 cylinder engines
for removal and fitting of main
bearing shell special at driving end
X = 286 mm
Turning-out device
For 8 12 cylinder engines
for removal and fitting of the main
bearing shell
X= 301 mm
Turning-out device
For 6 12 cyinder engines
for removal and fitting of the main
bearing shell
X= 411 mm
Turning-out device
For 8 12 cylinder engines
for removal and fitting of the main
bearing shell
X= 431 mm
WCH03063
X
94119 1 Lifting plate
for removal and fitting of the main
bearing shell
X= 299 mm
X
94119A 1 Lifting plate
for removal and fitting of the main
bearing shell
X= 424 mm
X
94122 1 Feeler gauge
X = 100 mm
Blade thickness 0.05 ... 1.00 mm
(13-part)
000.361/93
X
Standard Tools
201711

Table of Contents

Related product manuals