EasyManua.ls Logo

Yamaha F50A - Installing the Water Pump and Shift Rod

Yamaha F50A
403 pages
Print Icon
To Next Page IconTo Next Page
To Next Page IconTo Next Page
To Previous Page IconTo Previous Page
To Previous Page IconTo Previous Page
Loading...
62Y3A11
6-48
1
2
3
4
5
6
7
8
I
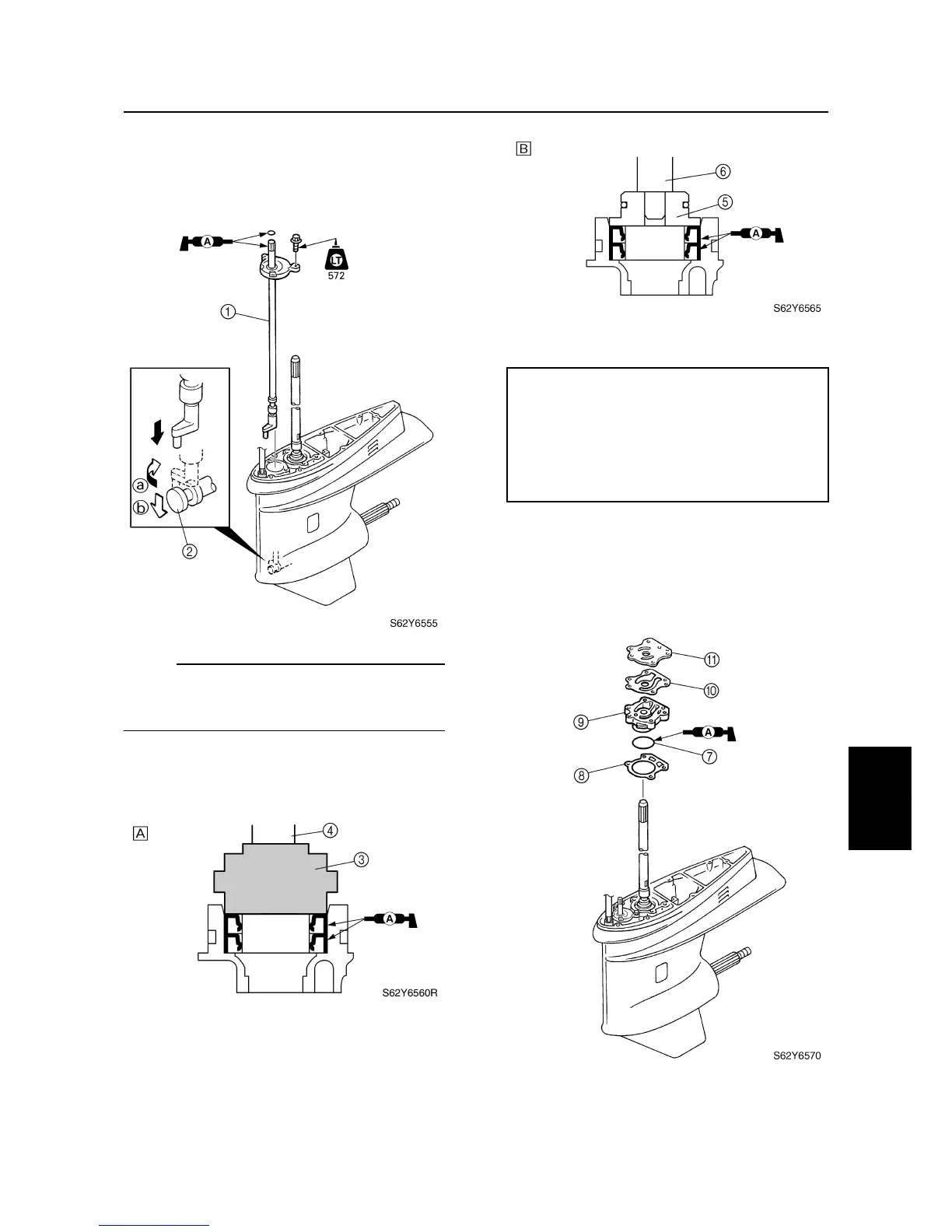
Installing the water pump and shift
rod
1. Install the shift rod assembly
1
.
NOTE:
Install the shift rod assembly into the lower
case, turn it clockwise 90°
a
, and then push
it down
b
to connect it to the shift slider
2
.
2. Install the new oil seals into the oil seal
housing as shown.
È
For USA and Canada
É
For worldwide
3. Install the new O-ring
7
.
4. Install the new gasket
8
, oil seal housing
9
, new gasket
0
, and outer plate car-
tridge
A
.
5. Install the Woodruff key into the drive
shaft.
Bearing housing oil seal installer
3
:
YB-06269
Driver handle
4
: YB-06071
Needle bearing attachment
5
:
90890-06610
Driver rod L3
6
: 90890-06652
Water pump and shift rod (T50/FT50B, FT50C)

Table of Contents

Other manuals for Yamaha F50A

Related product manuals