EasyManua.ls Logo

Buell 2002 P3 - Hot Start

Buell 2002 P3
400 pages
Print Icon
To Next Page IconTo Next Page
To Next Page IconTo Next Page
To Previous Page IconTo Previous Page
To Previous Page IconTo Previous Page
Loading...
2002 Buell P3: Fuel System 4-23
HOME
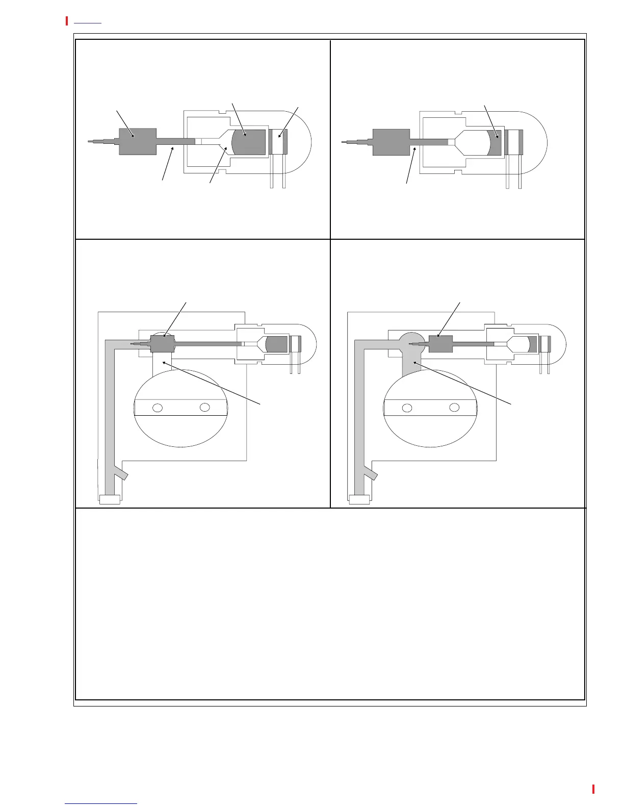
Figure 4-23. Auto-Enrichener
Auto-Enrichener Operation
The auto-enrichener is one of the first idle devices to be operated by a wax element. A silicone liquid is enclosed in the wax
and its volume increases or decreases with changes in temperature. Based upon whether the wax element is being cooled or
heated, the enrichener valve automatically opens or closes.
During a cold start, the enrichener valve is open. Whether the valve is fully or partially open is dependent upon the ambient
temperature. The extra fuel and air supplied to the engine causes it to idle fast.
Starting the vehicle also supplies 12 volts from the motorcycle power supply to the heater. As the heater warms the wax ele-
ment, the silicone gradually expands to push the plunger out, eventually closing the enrichener valve at the end of its stroke.
When the enrichener valve is closed (about 2-5* minutes from the time the engine is first started cold), the passageway that
supplies the extra fuel and air is blocked and the fast idle stops. See A and B above.
When the ignition is shut off, the power to the heater is cut. Deactivation of the heater causes the wax element to begin to
cool. During some hot (warm) starts, the wax element may have cooled quicker than the engine, which can result in a fast idle
period of short duration.
When the wax element has cooled sufficiently, the silicone gradually contracts to pull the plunger in. At the end of its return
BD
As Wax Warms, Stroke of Plunger
Gradually Increases to CLOSE Valve.
As Wax Cools, Stroke of Plunger
A
Heater is Activated When Vehicle Started.
Silicone Expands As It Warms. Expansion
Begins to Push Plunger Out.
C
Heater is Deactivated When Vehicle Shut
Off. Silicone Contracts As It Cools. Con-
traction Begins to Pull Plunger In.
NO Extra Fuel and Air are Provided.
Gradually Decreases to OPEN Valve.
Extra Fuel and Air are Provided.
Heater
Valve
Engine Running
12 Volt Power Supplied
To Heater
Plunger
OUT
Oil
Wax and
Silicone
(Expanded)
Engine Stopped
No Power Supplied
to Heater
Plunger
IN
Wax and
Silicone
(Contracted)
Air/Fuel
Passageway
CLOSED
HOT START
Valve is Closed
During Next
Valve
Air/Fuel
Passageway
OPEN
COLD START
Valve is Open
During Next
Valve

Table of Contents

Related product manuals