EasyManua.ls Logo

Centroid M400 - Page 151

Centroid M400
302 pages
Print Icon
To Next Page IconTo Next Page
To Next Page IconTo Next Page
To Previous Page IconTo Previous Page
To Previous Page IconTo Previous Page
Loading...
M-Series Operator’s Manual 4/9/15
10-69
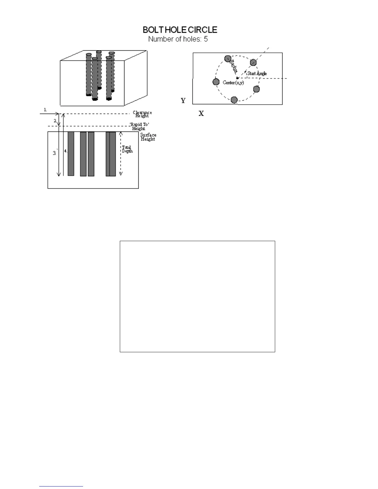
FIG. 2 - Bolt Hole Circle
N0003 Drill bolt holes
Cycle Type :
Drilling
Center: X :
0.0000
Y :
0.0000
Surface Height :
0.0000
Clearance Height
:
0.5000 INC
'Rapid To' Depth :
0.1000 INC
Depth: Total
:
0.5100 INC
Plunge Rate :
2.0000[M]
Dwell Time :
0.0000
Number of holes :
5
Radius :
0.9250
Start angle :
45.00°
F10 - Accept Keep selected values.
F4 - Tool Use a 0.2500 diameter end mill now. Notice that the tool height
shown below is a negative value. This value represents the
difference in height between this tool and the longest tool being
used. The longest tool used (in this case, operation N0020 above)
has a height of 0.0000. Again, do not be alarmed if the Tool
Height is not -1 for operation N0040. If this tool does not have
the desired spindle (CW) and coolant (Flood) settings, you should
also enter values specific to your machine setup.

Table of Contents

Related product manuals