EasyManua.ls Logo

FLIR T Series - 9 Camera Parts; View of the Rear

FLIR T Series
266 pages
Print Icon
To Next Page IconTo Next Page
To Next Page IconTo Next Page
To Previous Page IconTo Previous Page
To Previous Page IconTo Previous Page
Loading...
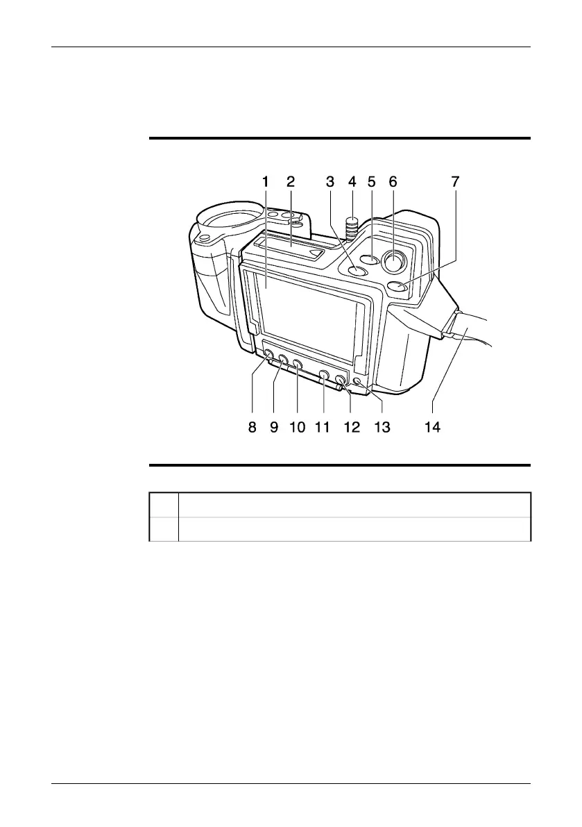
9 Camera parts
9.1 View of the rear
Figure
10758903;a1
Explanation
This table explains the figure above:
Touch screen LCD1
Cover for SD Memory Card slot2
Publ. No. 1558792 Rev. a460 ENGLISH (EN) July 1, 2010 11

Table of Contents

Other manuals for FLIR T Series

Related product manuals