EasyManua.ls Logo

Hill-Rom Affinity P3700E - Page 112

Hill-Rom Affinity P3700E
202 pages
Print Icon
To Next Page IconTo Next Page
To Next Page IconTo Next Page
To Previous Page IconTo Previous Page
To Previous Page IconTo Previous Page
Loading...
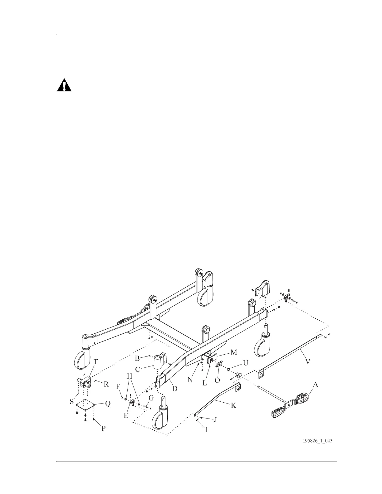
4.31 Central Braking System
Chapter 4: Procedures
4 - 54 Affinity® Four Birthing Bed Service Manual (195826 REV 2)
9. Remove the headboard and the foot section from the bed.
10. Put the pads on the floor to protect the bed from damage.
WARNING:
Do not turn the bed onto its side without the help of another person. Injury and equipment damage can
occur.
11. With the help of another person, carefully turn the bed on to the side with the disabled siderail
assembly.
12. Remove the two screws (L) and the end caps (M) that cover the cross tube (behind the brake/steer
pedal) at both sides of the base frame.
13. Remove the two screws (N) from the brake rod support bracket (O) on each side of the base frame.
14. Remove the four screws (P) that attach the detent housing plate (Q) at the center of the cross
channel.
15. Remove the two hairpins (R) and clevis pins (S) that connect the shaft of both the brake/steer pedals
(A) to the detent mechanism assembly (T).
16. Pull the brake/steer pedal (A) free of the cross channel and detent mechanism assembly (T).
17. Repeat Step 2 through Step 16 for the opposite side.
18. Remove the detent mechanism assembly (T) from the cross channel.
19. Slide the brake rod support bracket (O) and bushing (U) from the end of the brake/steer pedal (A).
20. Remove the brake strips (K and V) from the base frame.
Figure 4-35. Central Braking System

Table of Contents

Related product manuals