EasyManua.ls Logo

Lenze 8200 - Decentral Supply for 820 X

Lenze 8200
313 pages
Print Icon
To Next Page IconTo Next Page
To Next Page IconTo Next Page
To Previous Page IconTo Previous Page
To Previous Page IconTo Previous Page
Loading...
Network of several drives
8200SHB019910-16
10.5 Decentral supply
The DC-bus is supplied via several controllers or supply units connected in parallel
to the mains.
10.5.1 Decentral supply for 820X
820X
U
V
W
PE
L1
N
-UG
+UG
820X
U
V
W
PE
L1
N
-UG
+UG
Z3
F1 F1* F1 F1*
Z1 Z1*
Z1 Z1*
F4 F5
F4 F5
-UG
+UG
K10
PE
L1
PE
N/L2
K10*
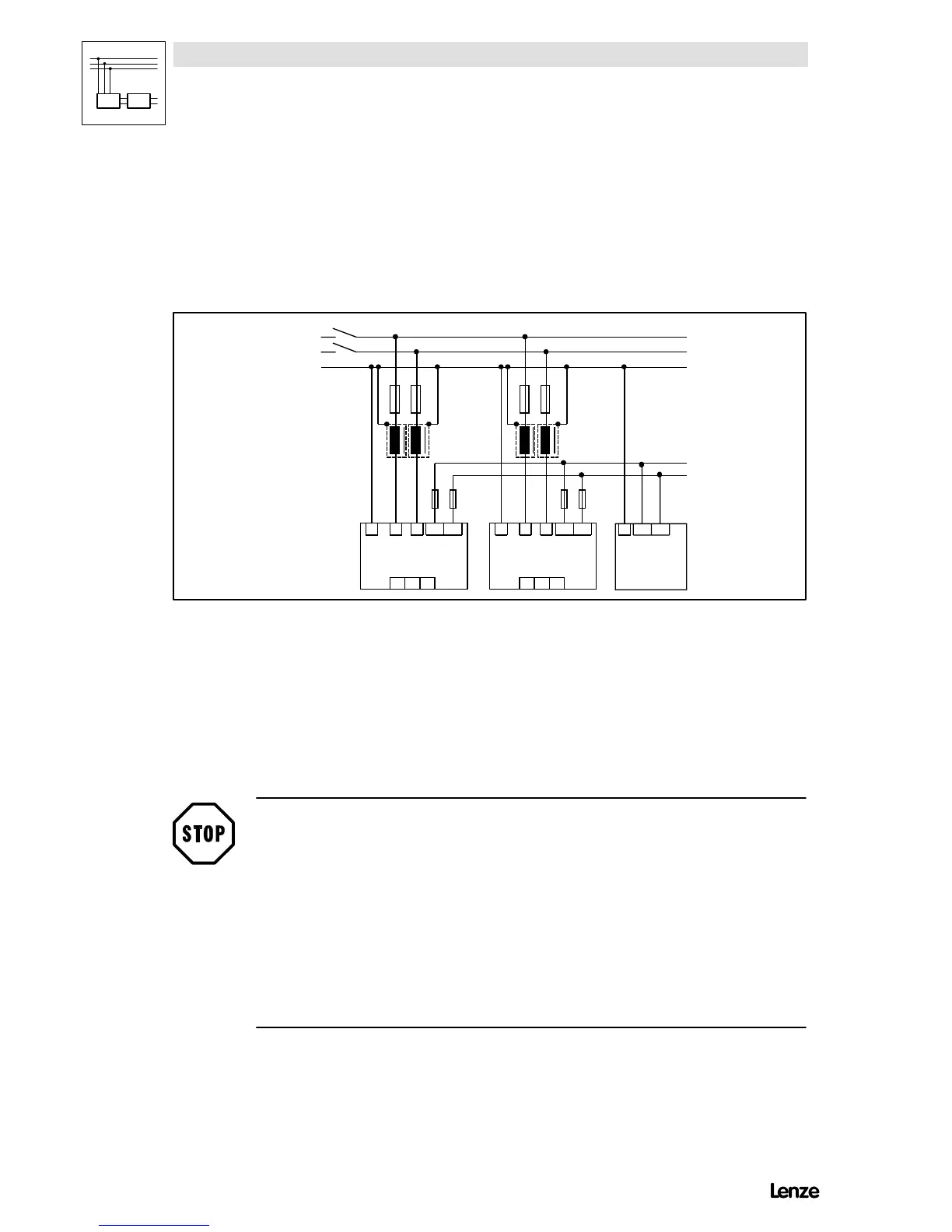
FIG 10-4 Block diagram: Decentral supply of several 820Xcontrollers connected to a network
F1, F1* Fuses, see Accessories
F1*only for supply voltage 2AC / PE / 190 - 260 V 0%/45-65Hz0%
K10, K10* Mains contactor
K10*only for supply voltage 2AC / PE / 190 - 260 V 0%/45-65Hz0%
F4, F5 Fuses, DC level, see Accessories
Z1, Z1* Mains choke/mains filter, see Accessories
Z1*only for supply voltage 2AC / PE / 190 - 260 V 0%/45-65Hz0%
Z3 Brake chopper/brake module, see Accessories
Stop!
For faultless network operation, the following conditions must befulfilled inaddition
to the conditions described in chapter 10.2:
- In-phase connection on the mains side
- With two-phase supply
- Cable and overload protection via second assigned mains fuse F1*
- Ensure current and power symmetry by providing a second mains
choke/mains filter Z1*.
Artisan Technology Group - Quality Instrumentation ... Guaranteed | (888) 88-SOURCE | www.artisantg.com

Table of Contents

Other manuals for Lenze 8200

Related product manuals