EasyManua.ls Logo

Omron SYSMAC CJ - REFERENCE MANUAL 08-2008 - Page 329

Omron SYSMAC CJ - REFERENCE MANUAL 08-2008
1405 pages
Print Icon
To Next Page IconTo Next Page
To Next Page IconTo Next Page
To Previous Page IconTo Previous Page
To Previous Page IconTo Previous Page
Loading...
289
Timer and Counter Instructions Section 3-6
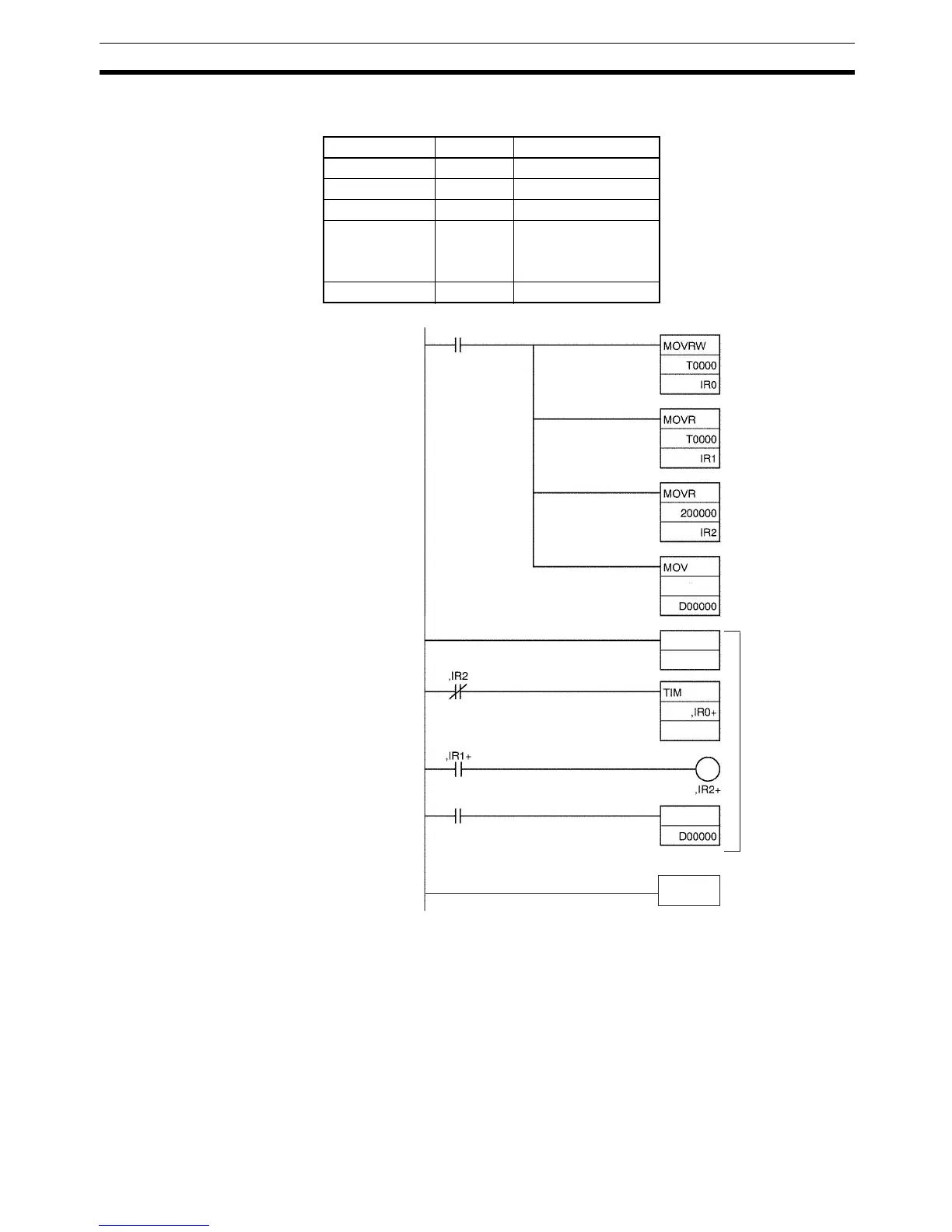
IR0 contains the PLC memory address of the timer PV and IR1 contains the
PLC memory address of the timer Completion Flag.
1,2,3... 1. MOVRW(561) moves the PLC memory address of the PV for timer T0000
to IR0. Afterwards IR0 can be used in place of the timer number.
2. MOVR(560) moves the PLC memory address of the Completion Flag for
timer T0000 to IR1.
3. MOVR(560) moves the PLC memory address of CIO 200000 into IR2.
4. MOV(021) moves &100 into D00000 for indirect addressing of the timer
SVs.
5. The content of IR0, IR1, IR2, and D00000 are incremented by 1 each time
as this loop is executed 100 times, starting timers T0000 through T0099.
DM address Content Function
D00100 0010 SV for T0000
D00101 0100 SV for T0001
D00102 0050 SV for T0002
.
.
.
.
.
.
.
.
.
D00199 0999 SV for T0099
1
2
3
4
5
P
_
On
P
_
On
&100
FOR
&100
@D00000
++
NEXT
(Always ON
Flag)
(Always ON
Flag)

Table of Contents

Related product manuals