EasyManua.ls Logo

Piper 6X - Page 533

Piper 6X
1190 pages
Print Icon
To Next Page IconTo Next Page
To Next Page IconTo Next Page
To Previous Page IconTo Previous Page
To Previous Page IconTo Previous Page
Loading...
THE NEW PIPER AIRCRAFT, INC.
PA-32-301FT / 301XTC
MAINTENANCE MANUAL
PAGE 5
Jun 1/03
3C15
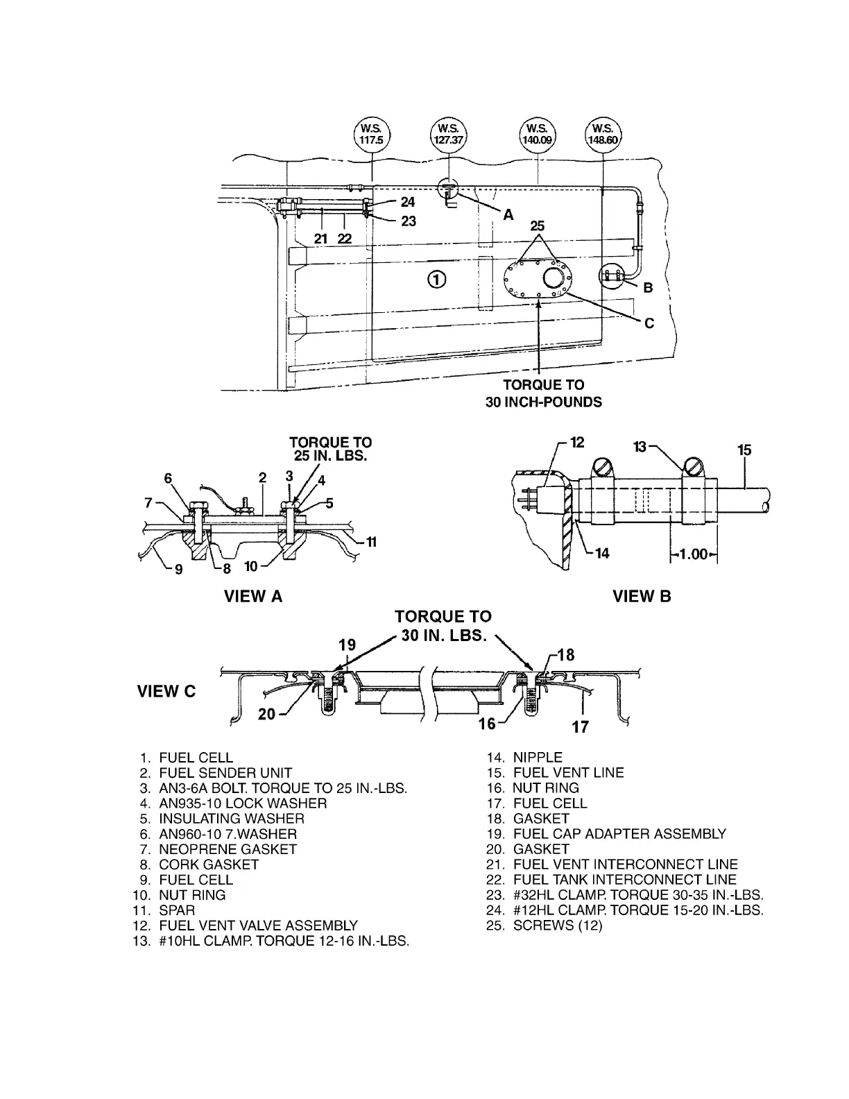
28-10-00
Fuel Cell Components
Figure 2

Table of Contents

Related product manuals