EasyManua.ls Logo

REXROTH SYNAX200 - Encoder Interface DFF01.1 M

REXROTH SYNAX200
168 pages
Print Icon
To Next Page IconTo Next Page
To Next Page IconTo Next Page
To Previous Page IconTo Previous Page
To Previous Page IconTo Previous Page
Loading...
SYNAX200 Appendix 11-29
DOK-SYNAX*-SY*-07VRS**-PR01-EN-P
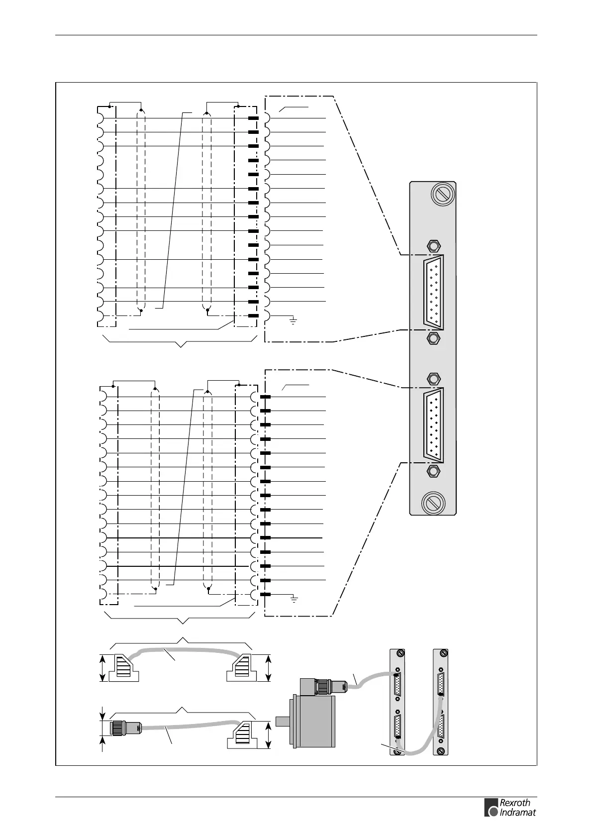
Encoder interface DFF01.1M
DFF01.1M
X19
X18
DFF01.1M
X19
X18
looking towards
front panel
DFF01.1
X19
SY6PR076.FH7
FS
0VM
UG
shield
connector INS0439/C01
part no.: 231715
X18
SCL
C-
GN
PK
WH
RD
VT
BN
GY
BN
BK
BU
SDO
SDI
S-
S+
C+
shield
connector INS0519/C01
part no.: 231 714
X19
VT
BNWH
WH
BU
RD
BK
GY
PK
GN
YE
BN
GNWH
YEWH
GYWH
PRIOR_OUT
0VM
not assigned
FS
0VM
UG
2
3
4
5
6
7
8
9
10
11
12
13
14
15
1
SCL
C-
SDO
SDI
S-
S+
C+
PRIOR_IN
0VM
not assigned
IKS0024
IKS4374
GDS 1.1
DFF 01.1M DFF 01.1M
IKS4374
encoder GDS 1.1 / GDM
DFF 01.1M, X18
6
1
10
2
7
5
8
12
3
4
9
IKS4374
IKS0024
INK0550
INS0519/C01
INS0439/C01
INS0439/C01
INS0713/C01
INK0448
2
3
4
5
6
7
8
9
10
11
12
13
14
15
1
2
3
4
5
6
7
8
9
10
11
12
13
14
15
1
2
3
4
5
6
7
8
9
10
11
12
13
14
15
1
2
3
4
5
6
7
8
9
10
11
12
13
14
15
1
42 42
4228
X18
1)
1)
1)
1)
M
1)
join shield to
connector housing
Fig. 11-31: Terminal diagram DFF01.1M

Table of Contents

Related product manuals