EasyManua.ls Logo

Ricoh D129 - Page 1263

Ricoh D129
1402 pages
Print Icon
To Next Page IconTo Next Page
To Next Page IconTo Next Page
To Previous Page IconTo Previous Page
To Previous Page IconTo Previous Page
Loading...
Tray Cover
SM 1 D388/D633
Internal Shift
Tray SH3040/
SH3060
(D388/D633)
1. REPLACEMENT AND ADJUSTMENT
1.1 TRAY COVER
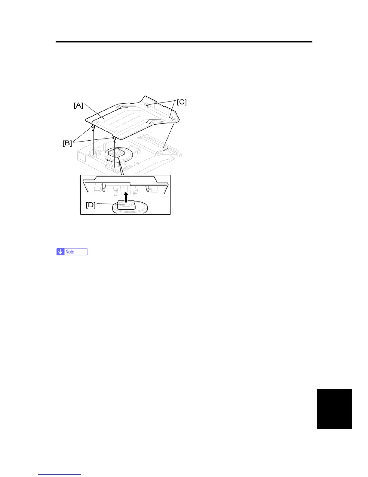
1. Remove the tray cover [A] by pressing on the two pawls [B] on the left side of the cover.
When Attaching the Tray Cover
The right side of the tray cover should be attached first.
1. Fit the pawls [C] on the shift tray.
2. Align the square [D] so that it fits into the groove in the underside of the tray cover and does
not interfere with the attachment of the cover.
3. Complete the attachment by inserting the left side pawls [B] into place.

Table of Contents

Other manuals for Ricoh D129

Related product manuals