EasyManua.ls Logo

TOHATSU BFT75A - Page 233

TOHATSU BFT75A
609 pages
Print Icon
To Next Page IconTo Next Page
To Next Page IconTo Next Page
To Previous Page IconTo Previous Page
To Previous Page IconTo Previous Page
Loading...
5-92
dummyheaddummyhead
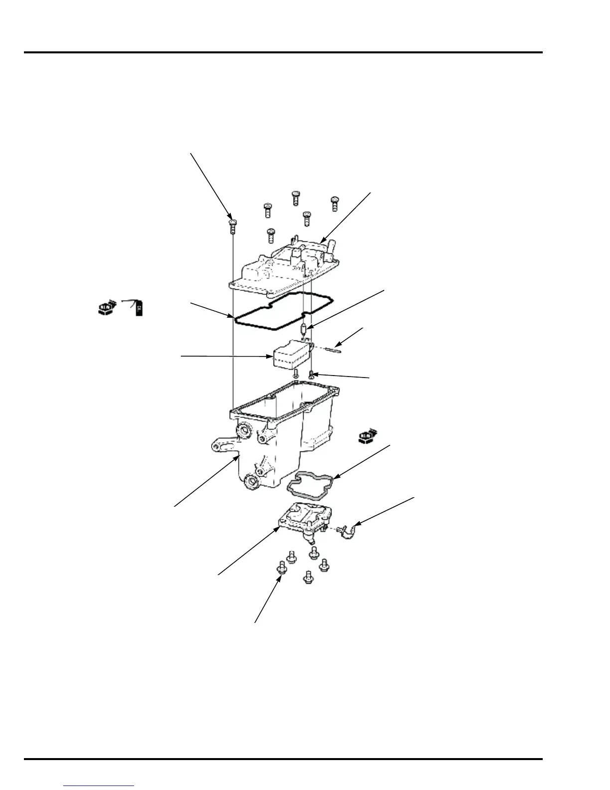
FUEL SYSTEM
VAPOR SEPARATOR COVER
2.1 N·m (0.21 kgf·m, 1.5 lbf·ft)
SCREW-WASHER (4 mm) (5)
WATER JACKET COVER
FLOAT PIN
2.1 N·m (0.21 kgf·m, 1.5 lbf·ft)
SCREW (2)
GASKET
FUEL TUBE CLAMP B
VAPOR SEPARATOR BODY
FLOAT VALVE
FLOAT
O-RING
3.4 N·m (0.35 kgf·m, 2.5 lbf·ft)
SCREW-WASHER (5 mm) (6)

Table of Contents

Related product manuals