EasyManua.ls Logo

WAHLAP TECH PUSHING POINTS - Door-Closing Motor Components(PP-0114000)

WAHLAP TECH PUSHING POINTS
121 pages
Print Icon
To Next Page IconTo Next Page
To Next Page IconTo Next Page
To Previous Page IconTo Previous Page
To Previous Page IconTo Previous Page
Loading...
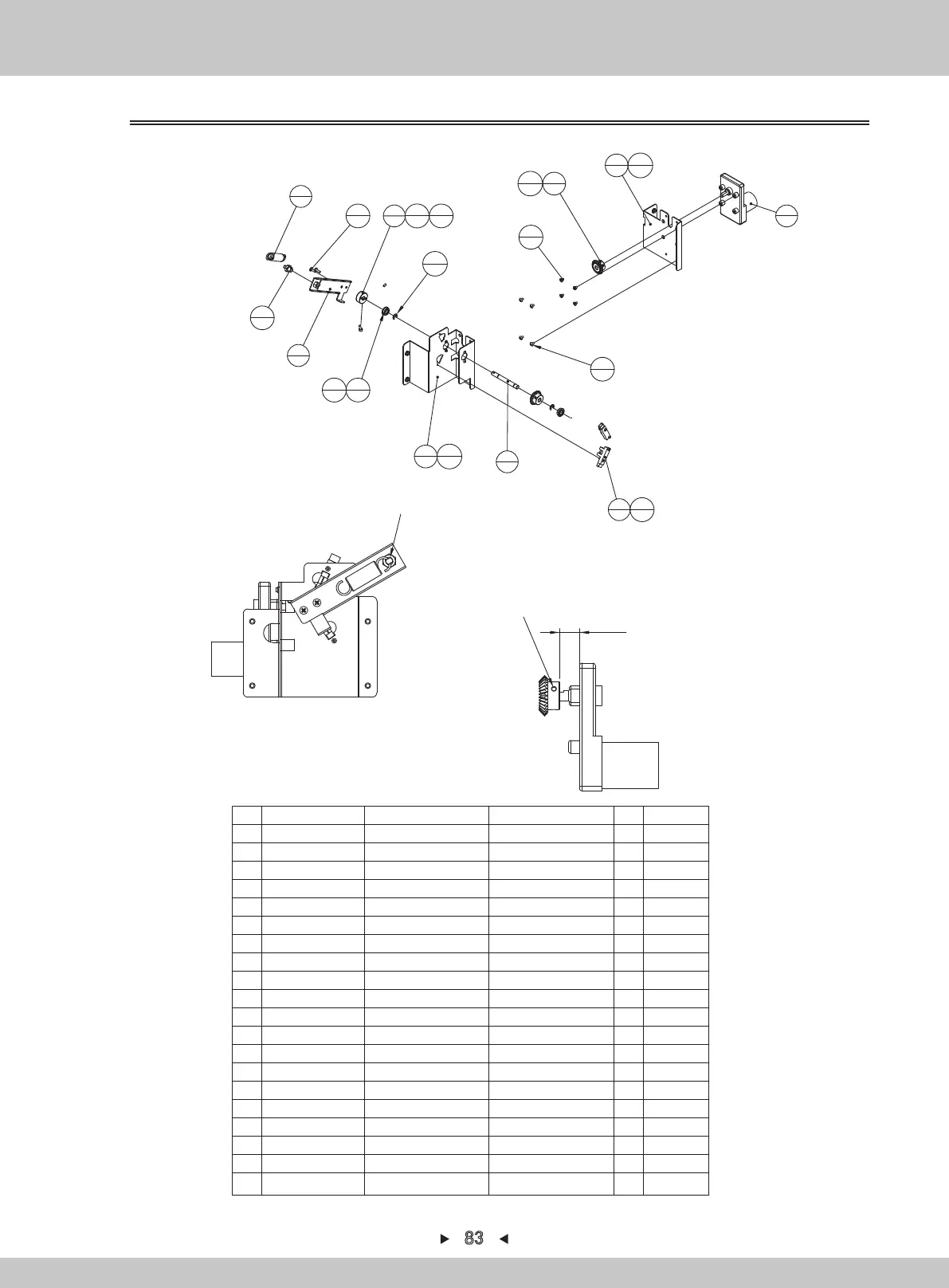
6.3.14 Door-closing motor components (PP-0114000)
83
20 Hexagon socket-head cap screw
M4*10stainless steel
1
19 Cross flat-head screw
M3*6chrome plated
4
18 Headless socket screw
M4*6black coating
7
17 Cross flat-head screw
M3*12chrome plated
2
16
Cross flat-head screw
M4*12chrome plated
2
15 Cross countersunk-head screw
M4*6galvanized
4
14 Cross flat-head screw
M4*6chrome plated
4
13 Hexagon nut with flange
M4color coating
4
12 Split washer (e-buckle) M6(black coating) 2
11 Brace for spring stretch AIPOZ8-20 1
10
Flange bearing LF-1680HH 2
9
Sensor KI1300-AA07LF 2
8
Motor
TG-85E-BG-200-CKA24V
1
7 KC-0704A02 Bevel gear Q235 2
6 PP-0112A05 Outlet-door fixing-ring 45 1
5 PP-0114A05 Sealing-door tension spring SUS304-WPB 1
4 PP-0114A04 No.1 outlet spring hanging-iron SPCC-1.5T 1
3 PP-0114A03 Outlet-motor shaft 45 1
2 PP-0114A02 No.2 motor iron for prize-door SPCC-1.5T 1
1 PP-0114A01 No.1 motor iron for prize-door SPCC-1.5T 1
SN Name Qty
Drawing No.
Materials/specifications
Note
5
1
11
1
16
2
4
1
6
1
12
2
10
2
8
1
2
1
7
2
15
4
14
4
3
1
1
1
9
2
18
6
17
2
13
2
13
2
18
1
20
1
19
4
15.5
NoteApplying
with screw glue
NoteApplying
with screw glue
NoteApplying
with screw glue
Note1. The screws shall be screwed
in as far as possible to prevent
the scratching!
2. The screw head shall be parallel
to the shaft!
Note1. Adjust the gear mesh-clearance
2. Coating with screw glue
1.6.LSF41015
1.6.LS230022
1.6.LST40011#
1.6.LS231022
1.6.LS241022
1.6.LSC40014
1.6.LS240012
1.6.LM204013
1.6.DQ106011
1.4.HY010031
1.4.ZC000065
5.4.WECHE0004
1.4.MD100029

Table of Contents

Related product manuals