EasyManua.ls Logo

Belarus 820 - Page 108

Default Icon
381 pages
Print Icon
To Next Page IconTo Next Page
To Next Page IconTo Next Page
To Previous Page IconTo Previous Page
To Previous Page IconTo Previous Page
Loading...
80-0000010B OM
108
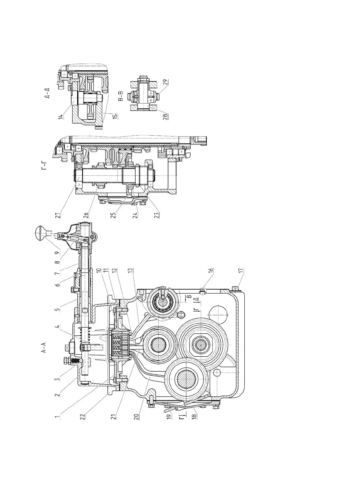
1 – fork housing; 2 – shaft; 3 – ball; 4 – gear lever; 5 – pipe; 6 – lock; 7 – bearing; 8 – carrier; 9 – GB control lever; 10 – locking balls; 11 – locking planks;
12 – fork of the 4th and 5th gears; 13 – range speed reduction unit carrier; 14 – axis of reverse movement intermediate gear; 15 – intermediate gear of
reverse movement; 16 – control plug; 17 – drain plug; 18 – cover; 19 – oil dip stick; 20 – fork of the 1
st
gear and reverse movement; 21 – fork of the 3
rd
and 6
th
gear; 22 – cover; 23 – spring ring;24 – gear; 25 – driven gear of step-down gears and reverse movement; 26 – gear of step-down gears and re-
verse movement gears; 27 – 1
st
speed and reverse movement shaft; 28 – gear axis of FDA drive; 29 – FDA drive gear
Figure 3.3.2 – Mechanical GB

Table of Contents

Related product manuals