EasyManua.ls Logo

Belarus 820 - Peculiarities of Clutch Coupling Dismounting, Mounting and Adjustment; General Information

Default Icon
381 pages
Print Icon
To Next Page IconTo Next Page
To Next Page IconTo Next Page
To Previous Page IconTo Previous Page
To Previous Page IconTo Previous Page
Loading...
80-0000010B OM
97
3.2.2 Peculiarities of clutch coupling dismounting, mounting and adjustment
3.2.2.1 General information
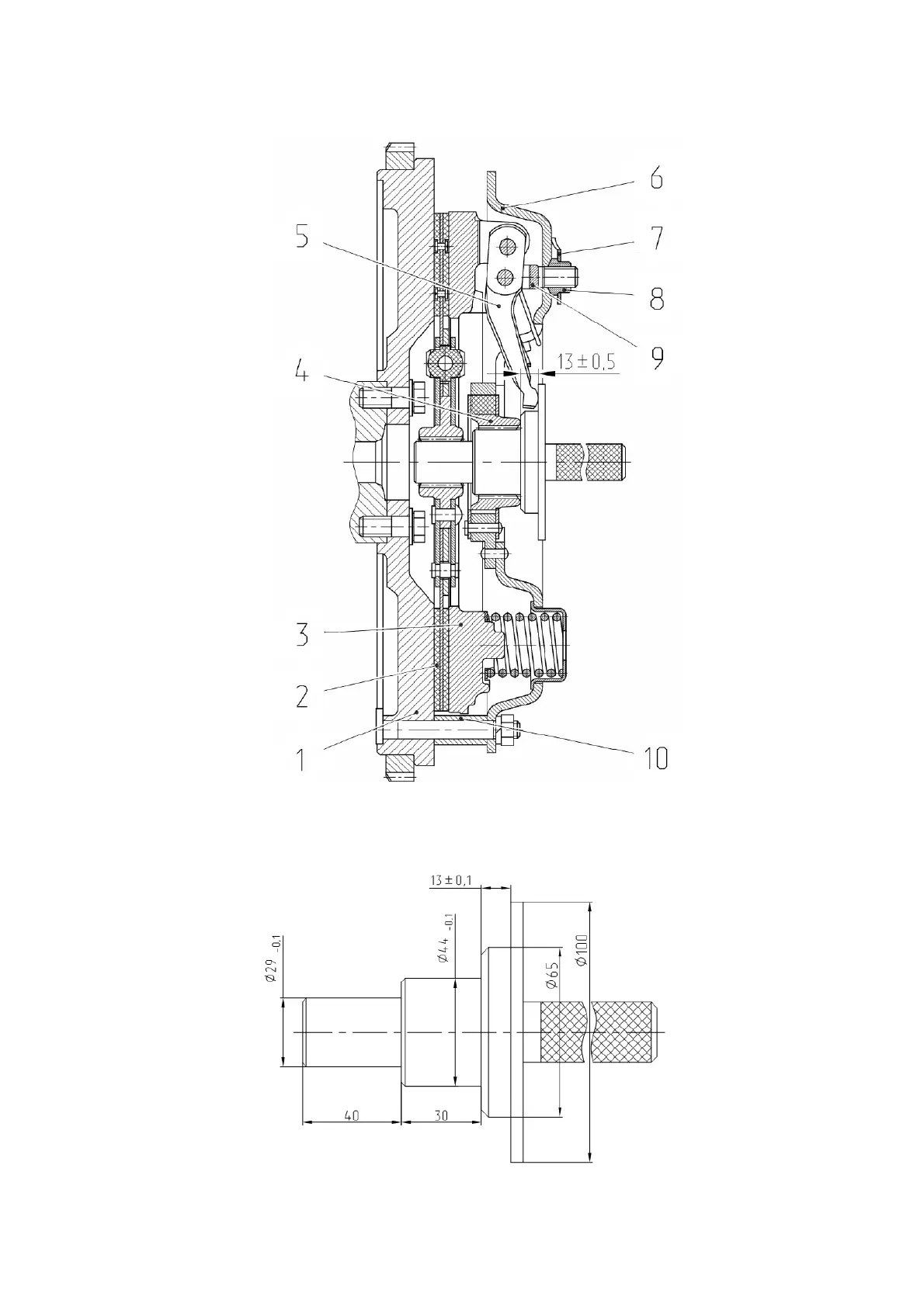
1 flywheel; 2 driven disc; 3 pressure plate; 4 floating bushing; 5 release
lever; 6 – bearing plate; 7 – locking plate; 8 – adjustment nut; 9 – fork; 10 – bushing.
Figure 3.2.2 – Mounting, dismounting and adjustment of the clutch coupling release levers
Figure 3.2.3 – Technological mandrel

Table of Contents

Related product manuals