EasyManua.ls Logo

Belarus 820 - Adjustment of Draft Control Operating Link on Tractors with Canopy Frame or; Canopy Base on the Basis of Small Cabin

Default Icon
381 pages
Print Icon
To Next Page IconTo Next Page
To Next Page IconTo Next Page
To Previous Page IconTo Previous Page
To Previous Page IconTo Previous Page
Loading...
80-0000010B OM
179
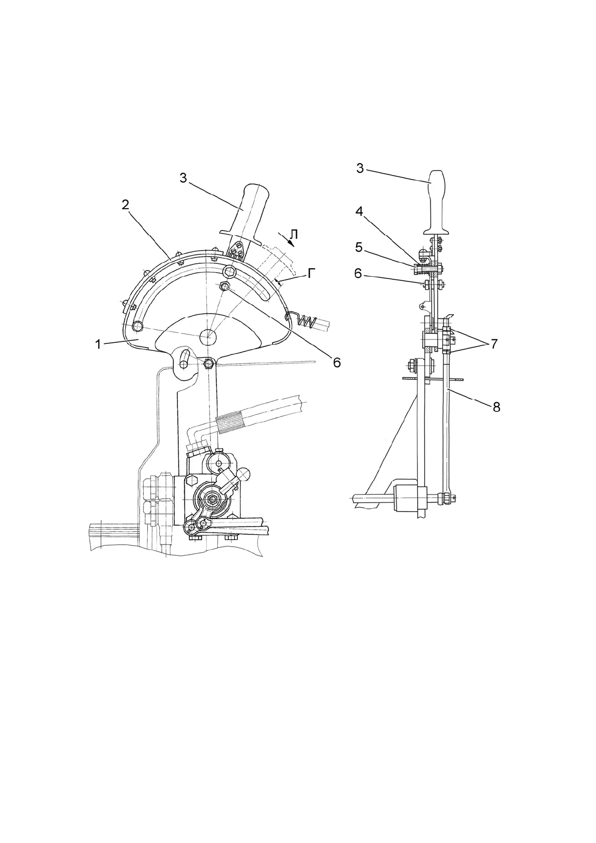
3.15.2.5 Adjustment of draft control operating link on tractors with canopy frame or
canopy base on the basis of a small cabin
Carry out adjustment of link 8 of control operation in the following way:
By means of nuts 7 (figure 3.15.11) adjust the length of operation link 8 of the control so
that, when handle 3 is shifted into the rear most position along tractor travel, clearance «Г»
of 11
+5
mm is formed between handle 3 and edge of the groove of sector 1.
1 sector; 2 toothed sector; 3 handle; 4 spring; 5 adjusting bolt; 6 bolt;
7 – nut; 8 – link.
Figure 3.15.11 Adjustment of draft control operating link on tractors with canopy
frame or canopy base on the basis of a small cabin.
For a clear fixation of handle 3 in all positions on toothed sector 2, as well as free
mounting on bolt 6 and removal from it, adjust the tension of spring 4 with the help of bolt
5. Shifting of handle 3 from bolt 6 along arrow “Л” should be easy and free, after shifting is
over handle 3 should spontaneously return on bolt 6.

Table of Contents

Related product manuals