EasyManua.ls Logo

Belarus 820 - Rear Axle Differential Lock; Differential Lock Coupling

Default Icon
381 pages
Print Icon
To Next Page IconTo Next Page
To Next Page IconTo Next Page
To Previous Page IconTo Previous Page
To Previous Page IconTo Previous Page
Loading...
80-0000010B OM
118
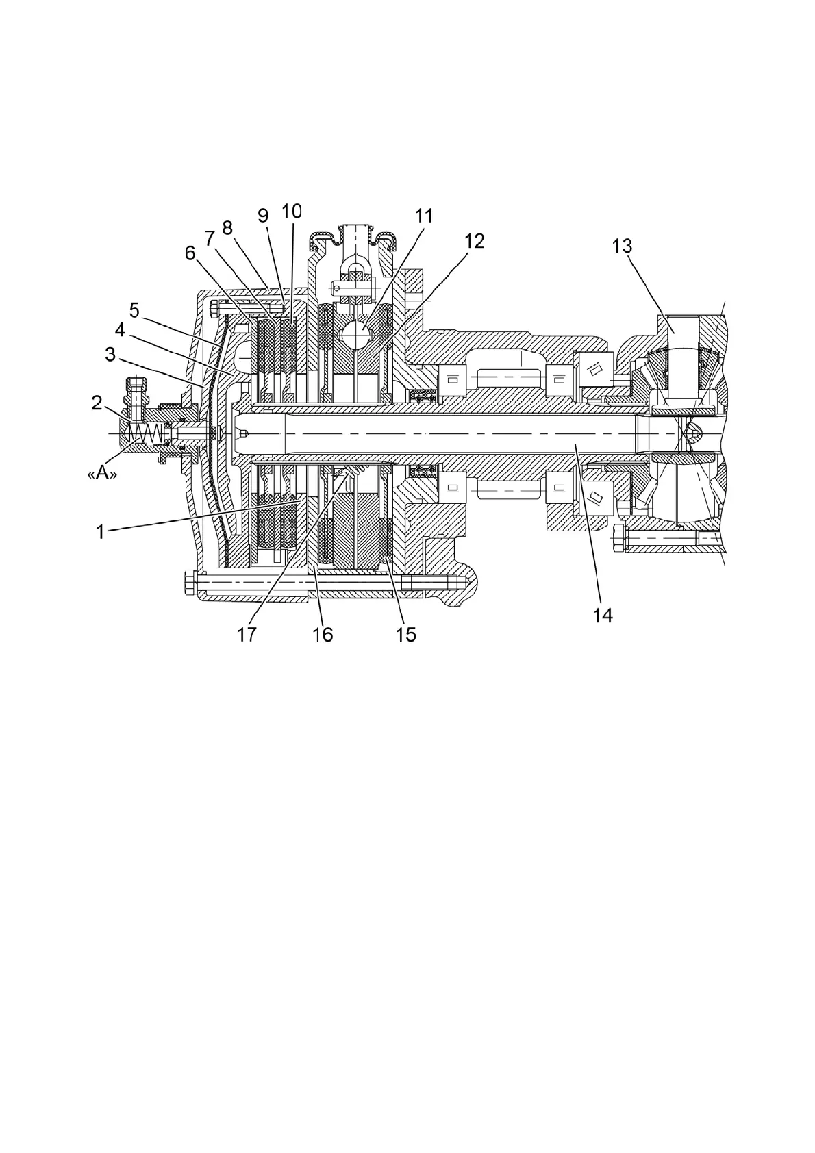
3.4.5 Rear axle differential lock (DL)
3.4.5.1 Differential lock coupling
Multi-disc hydraulically operated coupling of differential lock 1 (figure 3.4.2) is located in
shell 8, which through the shell of the left two-disc (three-disc) brake and the bearing cup is se-
cured by bolts to the rear axle casing. In shell 16 of the two-disc dry service brake discs 15,
pressure discs 12, balls 11 and coupling springs 17 are mounted.
1 lockup clutch; 2 adaptor; 3 membrane cover; 4 pressure disc of DL; 5
membrane; 6 throw-out disc; 7 intermediate disc; 8 DL coupling shell; 9 coupling
housing; 10 Lock-up coupling friction disc; 11 ball; 12 pressure disc of the brake; 13
differential cross; 14 lock shaft; 15 brake disc; 16 shell of the left service brake; 17 cou-
pling springs.
Figure 3.4.2 – Differential lock coupling
The coupling consists of lock shaft 14, connected by splines with differential cross
13, housing 9, pressure disc 4, throw-out disc 6, membrane 5, cover 3, adapter 2 and
discs 10, mounted on splines of the left drive gear of the final drive.
When oil is supplied under pressure from the hydraulic system of DL control into
working cavity “A” membrane 5 with pressure disc 4 shift and press discs 10 to bearing
surfaces of housing 9, intermediate disc 7 and throw-out disc 6, locking the differential (dif-
ferential cross with left axle shaft gear).

Table of Contents

Related product manuals