EasyManua.ls Logo

Belarus 820 - Page 164

Default Icon
381 pages
Print Icon
To Next Page IconTo Next Page
To Next Page IconTo Next Page
To Previous Page IconTo Previous Page
To Previous Page IconTo Previous Page
Loading...
80-0000010B OM
164
Turning of the guiding wheels at low resistance to turning occurs without the hy-
draulic system actuation. Force from the steering wheel to drop arm 1 is transmitted by
worm 18 through sector 21 and turning shaft 4. The force transmitted to the drop arm is
lower than the force required for the compression of three springs 18 (figure 3.13.2) and
movement of the spool of distributor valve 13. The spool is in neutral position and oil flow
from the pump goes through the distributor valve for drain into housing 5.
At high resistance to turning the spool shifts away from the neutral position, con-
necting one cavity of the hydraulic booster cylinder with drain, and the other with pump
pressure oil line.
Under oil pressure rod 8 (3.13.1) through rack 23 turns sector 21 with turning shaft
4 and drop arm 1. When the action of the force on the steering wheel stops the distributor
valve spool returns to neutral position and wheels stop turning. In neutral position
the spool is held by springs 18 (figure 3.13.2), the maximum pressure when turning is lim-
ited by safety valve 19.
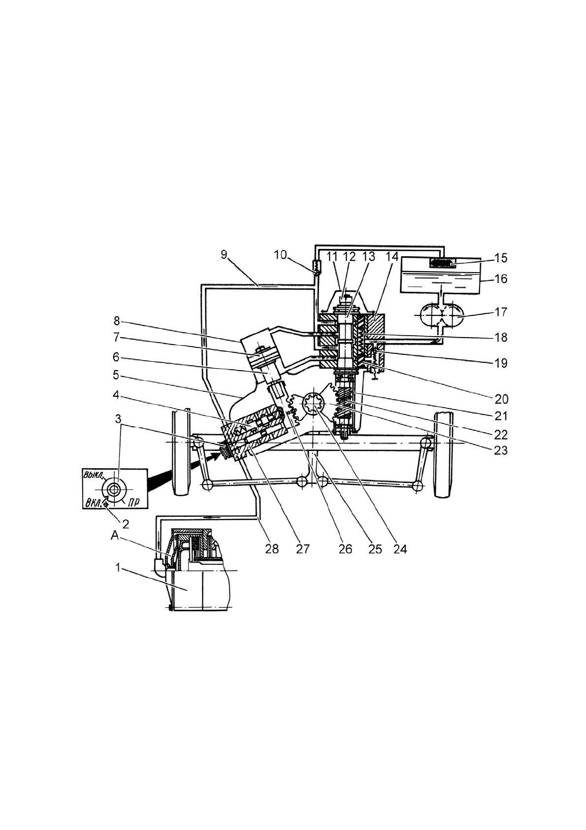
HPS circuit diagram of tractors “BELARUS-80.1/82.1” is shown in figure 3.13.2.
1 lock coupling; 2 gauge stick; 3 control handwheel; 4 spool; 5 body; 6 rod;
7 piston; 8 cylinder; 9 oil pipeline of lock sensor; 10 pressure-relief valve;
11 cover; 12 spherical nut; 13 distributor valve; 14 valve cover; 15 drain filter;
16 oil tank; 17 HPS pump; 18 spring; 19 safety valve; 20 sliding sleeve; 21 adjust-
ing bushing; 22 – worm; 23 – sector; 24 turning shaft; 25 drop arm; 26 rack; 27 rack
stop (lock sensor body); 28 – lock coupling oil pipeline.
Figure 3.13.2 HPS circuit diagram of tractors “BELARUS-80.1/82.1” with differential
lock cock

Table of Contents

Related product manuals