EasyManua.ls Logo

Belarus 820 - Page 303

Default Icon
381 pages
Print Icon
To Next Page IconTo Next Page
To Next Page IconTo Next Page
To Previous Page IconTo Previous Page
To Previous Page IconTo Previous Page
Loading...
80-0000010B OM
303
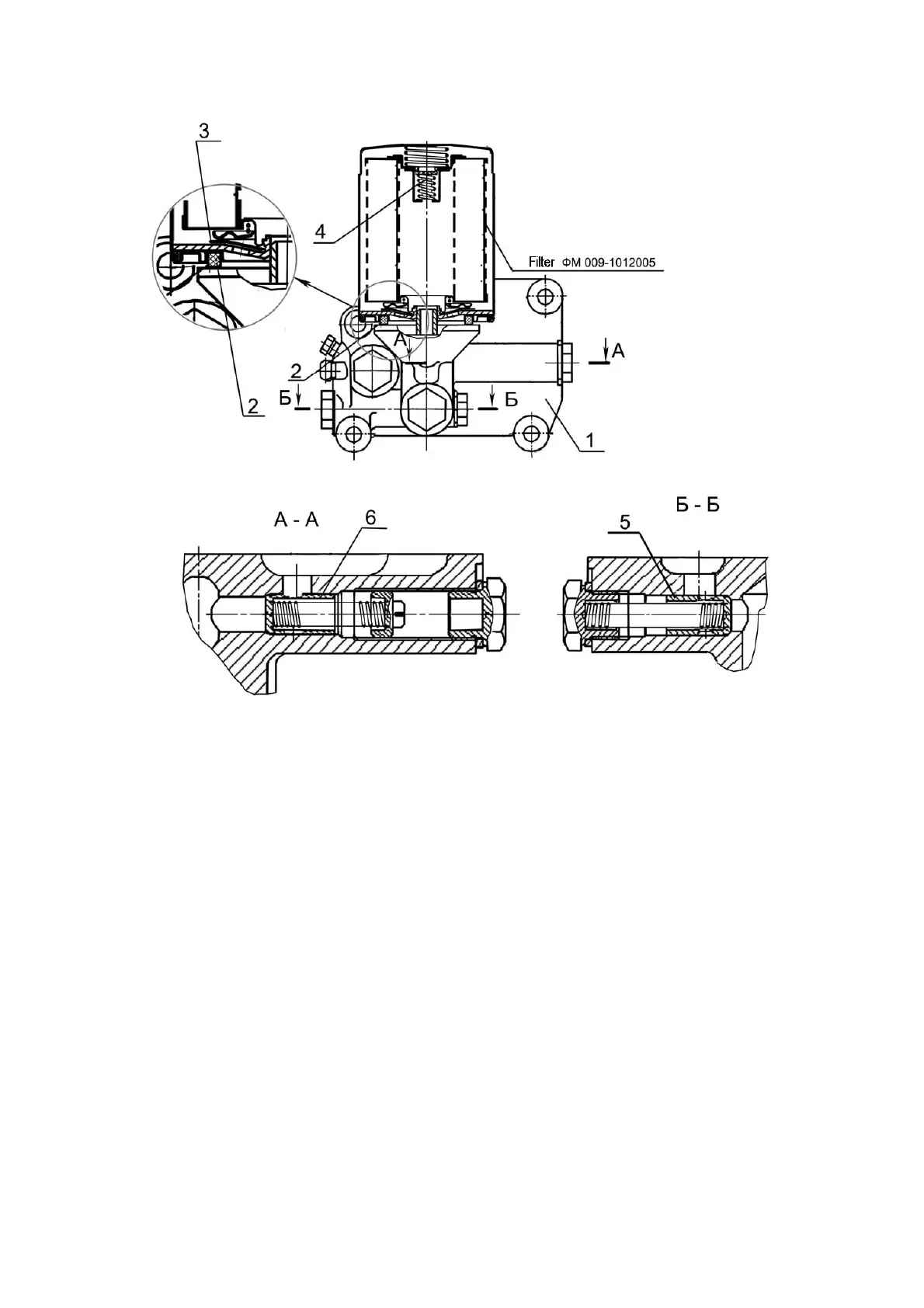
1 filter body; 2 gasket; 3 –anti-drainback valve; 4 bypass valve; 5 pressure relief
valve; 6 – safety valve.
Figure 6.4.23 – Oil filter.
6.4.3.8.2 Cleaning of rotor of the engine’s centrifugal oil filter
Clean the rotor of the engine’s centrifugal oil filter simultaneously with changing oil
in the engine crankcase.
To clean the rotor of centrifugal oil filter, do the following:
- undo nut 1 (Figure 6.4.24) and remove cap 2;
- insert screwdriver 5 or a stem between filter body and rotor bottom, stop rotor 9
from rotating and by rotating rotor nut with wrench 4, remove cup 3 of the rotor;
- remove cover 6, impeller 7 and filtering mesh 8 of the rotor;
- using a non-metallic scraper, remove sediment from inner walls or rotor cup;
- clean all the parts, rinse them in washing solution and purge with compressed air;
- assemble the filter by performing the disassembly operations in reverse order.
Grease the seal ring with engine oil before assembling the cup with the housing of the ro-
tor;
- match the balancing marks on the cup and housing of the rotor;
- tighten the cup-retaining nut with slight effort until the cup is fully fitted on the rotor;
- the rotor shall rotate freely, without sticking.
- install cap 2 and tighten nut 1 with the torque from 35 to 50 N•m.

Table of Contents

Related product manuals