EasyManua.ls Logo

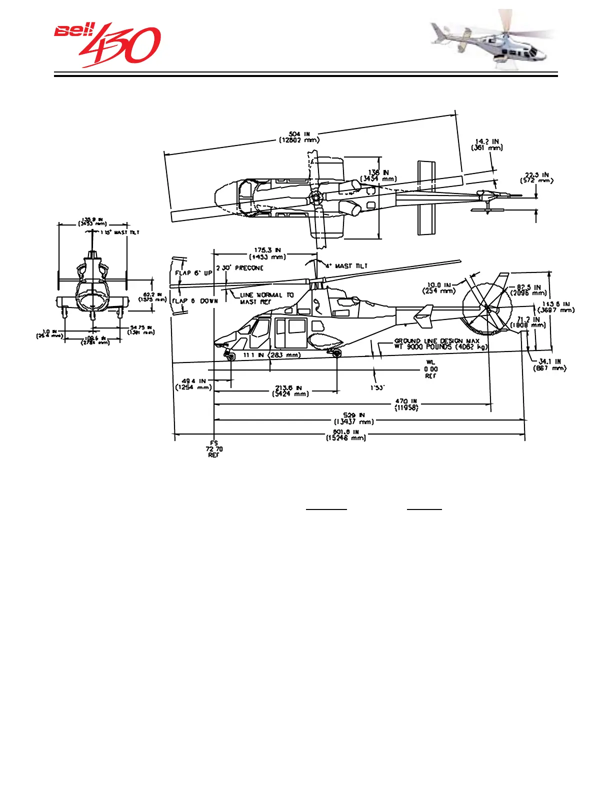
BELL HELICOPTER BELL 430 - EXTERIOR DIMENSIONS [RETRACTABLE WHEELS]

Default Icon
276 pages
Print Icon
To Next Page IconTo Next Page
To Next Page IconTo Next Page
To Previous Page IconTo Previous Page
To Previous Page IconTo Previous Page
Loading...
247
THIS IS AN UNCONTROLLED DOCUMENT.
THIS ELECTRONIC DOCUMENT MAY HAVE BEEN SUPERCEDED.
THE MOST CURRENT DOCUMENT INFORMATION IS AVAILABLE
FROM YOUR BELL HELICOPTER TEXTRON REPRESENTATIVE.
PRODUCT DATA JANUARY 2003
EXTERIOR DIMENSIONS [RETRACTABLE WHEELS]
DIMENSIONS ARE APPROXIMATE
[
DIMENSIONS ARE ROUNDED TO THE NEXT HIGHEST TENTH FOOT
(
METER
)]
ENGLISH METRIC
OVERALL HEIGHT 12.2 FT 3.7 M
OVERALL LENGTH
FUSELAGE 44.1 FT 13.5 M
ROTOR TURNING 50.2 FT 15.3 M
ROTOR IN "X" 44.6 M 13.6 M
MAXIMU M WIDTH
FUSELAGE 11.3 FT 3.5 M
ROTOR TURNING 42.0 FT 12.8 M
ROT OR IN "X" 30.9 FT 9.4 M
MAIN ROTOR DIAMETER 42.0 FT 12.8 M
MAIN ROTOR CHORD 14.2 IN 0.361 M
NUMBER OF BLADES 4 4
TAIL ROTOR DIAMETER 6.9 FT 2.1 M
TAIL ROTOR CHORD 10.0 IN 0.254 M
NUMBER OF BLADES 2 2
feet (meters)

Table of Contents

Related product manuals