EasyManua.ls Logo

Epson RC620 CU - Page 79

Epson RC620 CU
226 pages
Print Icon
To Next Page IconTo Next Page
To Next Page IconTo Next Page
To Previous Page IconTo Previous Page
To Previous Page IconTo Previous Page
Loading...
Setup & Operation 12. Option Slots
RC620 Rev.8 63
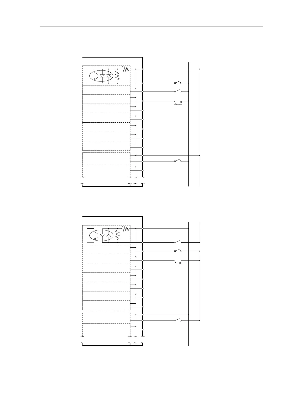
Protected Expansion I/O Board
Typical Input Circuit Application 1
1 Input No.64 to 71 common
2 Input No.64
3 Input No.65
4 Input No.66
5 Input No.67
6 Input No.68
7 Input No.69
8 Input No.70
9 Input No.71
Expansion I/O board-1
(Same)
Omit
GND +DC
18
Input No.72 to 79 common
19 Input No.72
20 Input No.73
(Same)
(Same)
(Same)
(Same)
(Same)
(Same)
(Same)
Protected Expansion I/O Board
Typical Input Circuit Application 2
1 Input No.64 to 71 common
2 Input No.64
3 Input No.65
4 Input No.
66
5 Input No.67
6 Input No.68
7 Input No.69
8 Input No.70
9 Input No.71
Expansion I/O board -1
(Same)
Omit
GND +DC
18 Input No.72 to 79 common
19 Input No.72
20 Input No.73
(Same)
(Same)
(Same)
(Same)
(Same)
(Same)
(Same)

Table of Contents

Related product manuals