EasyManua.ls Logo

Hisun HS700UTV-4 - Assembling the Starter Motor; Charging System; Circuit Diagram

Hisun HS700UTV-4
388 pages
Print Icon
To Next Page IconTo Next Page
To Next Page IconTo Next Page
To Previous Page IconTo Previous Page
To Previous Page IconTo Previous Page
Loading...
ELECTRICAL COMPONENTS
- 316 -
CHARGING SYSTEM
Circuit diagram
See 371 page
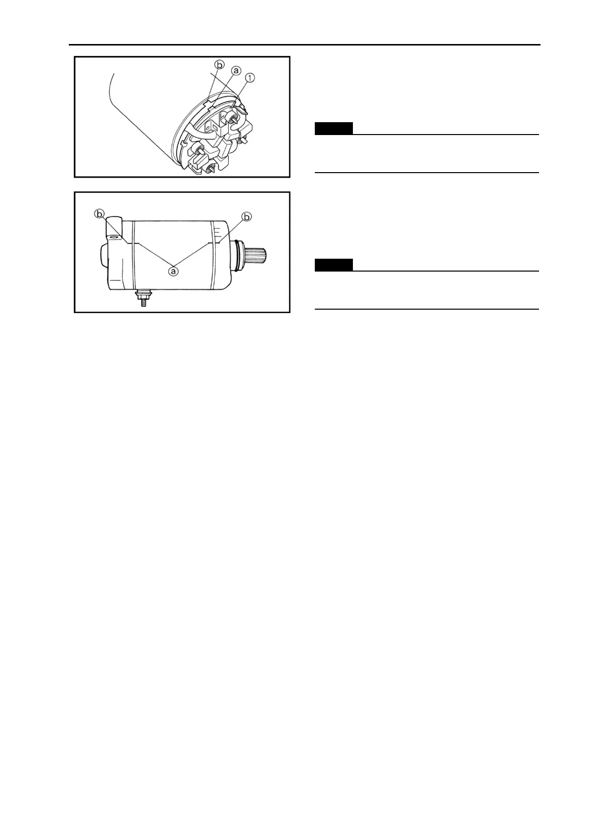
ASSEMBLING THE STARTER MOTOR
1. Install:
• brush seat 1
1NOTE:
Align the projection on the brush seat 1 with
the slot on the yoke.
2. Install:
• yoke
• brackets
1NOTE:
Align the match marks on the yoke with the
match marks on the brackets.

Table of Contents

Related product manuals